Phil Storrs PC Hardware book

Introduction of the PC Computer

Software

The Operating System: The first program loaded when the computer is started is called the operating system. An operating system provides the opening user interface, it interprets instructions sent to the computer by the user, controls the hardware I/O devices and allows the user to "load" and "run" software applications. The operating system also provides basic I/O services to application programs.

Application programs: These are the programs a user runs on the computer to make use of it. Applications include Word Processors, Data Base programs, Spread Sheet programs, Business Packages and Games.

DOS (Disk Operating System): DOS is the operating system for personal computers based on the Intel range of Microprocessors. In the early days of DOS computers (the IBM PC and clones and compatibles) hardware manufacturers used to provide variations of DOS tuned specifically for their systems. These variations are virtually indistinguishable except at a detailed programming level. What is more important is the variations due to the evolution of DOS, from one version to the next.

MICROSOFT WINDOWS, a Graphical User Interface: DOS provides a TEXT based user interface and as such is not very "user friendly". Windows is an alternative user interface that uses graphical symbols to launch applications and is much easier to learn and operate. All versions of Windows before Windows 95 are loaded from DOS. This process can be automated so the user never see's the DOS prompt. Windows 95 replaces DOS completely and is a complete operating system in it self.

Hardware

The basic hardware configuration of a DOS type computer has not changed much over the years. A typical Single User PC Computer workstation consists of the following items.

  1. A System Unit (also referred to as the CPU) that contains

  2. Video Display Unit (also called VDU or Monitor)

  3. Keyboard

  4. Printer This may be a local or a Network printer

  5. Mouse or Track Ball

  6. Today most Work Stations also have

  7. Common options found in PC Computers

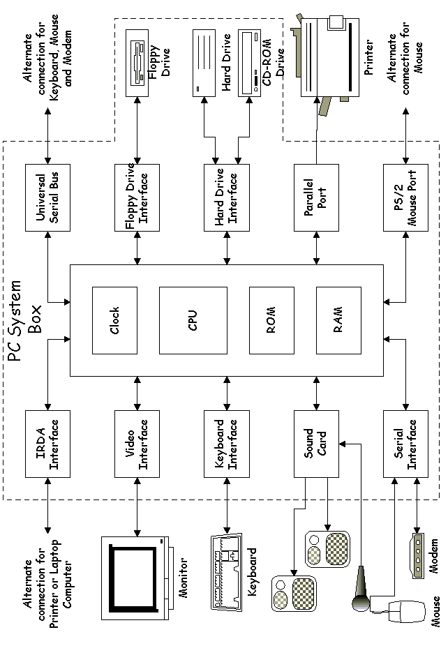
Click on the "thumbnail sketch of the following simple block diagram to get a larger image of it. This image will help you to understanding where the various parts of a typical PC Computer system fit. What you will see is too big to fit on the screen but should print in "landscape" mode when printed.

*Note: In older traditional DOS computers the Floppy and Hard Drive Drive Interfaces, and the basic I/O functions were provided by plug in cards. Today the Floppy and Hard Drive Interfaces and the Parallel and Serial I/O Ports are provided on the System Board. The Games Port is usually provided on the Sound Card.

What determines the Speed and Capacity of a computer system ?

The actual physical components that make up the system define many of the systems attributes
Hardware		Attributes
CPU			computing speed, and address space
Hard disk(s)		access speed, and capacity
Floppy disk(s)		size, and capacity
Video board		max. resolution, and color range
Video monitor		size, dot size, max. resolution, scan range
Memory			amount of memory and access speed
I/O  ports		what is available and how many of each 
Network adapter		type and speed
Printer			speed and quality of print

The CPU

DOS Computers are identified by the CPU (Central Processing Unit) around which they are designed. The CPU is the brain of the computer, performing calculations and managing resources. The 8088 was used in the original IBM PC of 1981 and the 8086 was used in some other DOS computers about that time. The 80286 was used in the IBM AT in 1983 and many other manufacturers made AT type computers. The 80386 processor was introduced in 1987, followed soon after by the 80486. The latest members of the family are the Pentium, Pentium II and Pentium Pro processors. The processing speed of a DOS computer is determined by the type of processor chip and the CPU speed, measured in Megahertz (millions of cycles per second).

Floating point unit (Maths co-processor): A FPU chip such as the 8087, 80287, or the 80387 can be installed in earlier generation PCs to boost the speed of applications requiring substantial mathematical operations. The 80486DX and later generation Intel family processors have a maths floating point unit built in. A floating point unit only helps if the application in question is able to make use of it.

Processor clock speed: As the INTEL family of processors has been developed, the clock speed of each generation has gradually been increased through the life of each generation. Each new generation has had more advanced technology that makes it faster than the generation before it, for the same clock speed. Other manufacturers have cloned all generations of Intel processors and some of them claim significant increases in performance over the original INTEL product. The later generations of processors use clock multiplier technology where the internal speed of the processor is faster than the external clock speed, supplied via the computers Bus.

Keyboards

A keyboard provides the user input to the computer. There are several popular keyboard layouts available, with differing key locations and capacities. The keyboard interface, and the way the keyboard communicates with the keyboard interface on the system board, changed with the introduction of the AT computer in 1983 and so a keyboard from a first generation PC will not work with later generation PC's.

The RAM Memory

The computers RAM (Random Access Memory) provides the working space for programs and data. In modern hardware it is all installed on the computer's system board but older computers required plug in memory boards. Older hardware used Dual In Line RAM chips but these given away first to SIP packages and then SIMM packages. The latest RAM package is the DIMM.

Although modern DOS computers are usually fitted with at least four Megabyte of memory DOS can only use the first 640K bytes of this for most applications. Microsoft Windows and many modern applications can make use of EXTENDED memory and starting with DOS version 5, DOS could load its system files and TSRs into a 64K byte block of memory above the first one Meg of memory.

I/O Busses

All communication within the computer between the processor, the memory, and the I/O devices occurs on a series of buses. As most of the computers I/O functions are provided by plug in cards on an External Bus, the processors data, address, and control lines are extensively buffered between the processor and the bus. This buffering avoids loading down the processors data and address lines when several I/O cards are plugged into the external bus. With the traditional 16 bit bus, access to the external bus is carried out at a rate of 8 MHz, instead of the clock speed of the System Board. This problem has been overcome by the use of a Local Bus, an almost direct connection between the processor, its memory and some of the I/O functions.

At first, only the RAM memory was put on the Local Bus but some manufacture have put the Video Interface card and sometimes the Hard Disk controller, onto the System Board, and on the "Local Bus" with the memory. This early approach caused problems of "non standard hardware" and reduced the possibility of future upgrade. The introduction of Local Bus slots, some years ago, has meant the interfaces that can benefit from the speed of a Local Bus, can be put into Local Bus slots.

The Standard I/O Busses used in DOS computers

There are four simple bus architectures in use in DOS computers.

Local Buses

The standard bus slots operate at a maximum clock speed of 8 MHz and this is far slower than the clock speed of modern processors. The 286 based AT type computers usually only had room on the system board for two (2) Meg of RAM and so any additional memory was put into a memory expansion card plugged into an ISA bus slot. With clock speeds of 6 or 8 Mhz this did not present any problems but as the clock speeds of the processor was increased, this lead to a degradation of performance when accessing memory on cards plugged into the bus slots. Many of the later AT type computers ran with clock speeds of 12 or 16 MHz and so the machine was slowed significantly when working with its memory above two Meg.

Starting with the early 386 computers the memory on the system board was connected directly to the processor and is described as being on a Local Bus. This memory can be accessed at the processors clock speed. Any additional memory was provided by a Memory Expansion Slot on the system board, that was on the local bus with the processor. These slots followed no industry standard with manufacturers organising their own connectors and expansion cards however they liked. This lead to a problem because as manufacturers changed the system board designs often, the cards for their older boards were not available for long. The need for these non standard local-bus slots was overcome by the introduction of high capacity SIMM RAM modules that allowed a great deal of RAM to be put on the system board.

While wrestling with the problem of providing a local bus connection for more RAM, some manufacturers decided the video system could benefit from being put onto the local bus with the memory. This would mean the video system could be communicated with at, or near, the processors clock speed rather than the 6 to 8 MHz of the old ISA bus. At first they provided another non standard local bus slot for the video card or simply built the video interface on the system board and connected it to the local bus between the processor and the RAM memory. This solution had the problems as the old RAM expansion card because board designs soon became obsolete and special cards became unavailable.

The problem of a universal Local Bus standard was first solved by the VESA (Video Electronics Specialists Association), a group of computer hardware manufacturers who first got together to sort out standards for Super VGA video systems. The VESA group developed a local bus slot called VESA or VL bus.

The VESA Bus is an additional connector on the end of the standard ISA Bus slots that provided direct access between the processor and cards plugged into those slots. This local bus provided 32 bit data paths for both Data and Address and could be operated at clock speeds as high as 50 MHz. VESA local bus slots were intended for Video, Hard Disk and Network cards. The VESA bus became popular almost overnight in early 1993. The VESA local bus is often simply referred to as Local Bus.

At the same time as the VESA group was working on its local bus solution, INTEL was developing a more advanced local bus called the PCI Bus. This bus took some time to develop and at first did not provide much of an improvement over the VESA bus when used with 486DX33 or 486DX2/66 processors. The VESA bus was popular for about one year but as the problems with the PCI bus were solved and more and systems used DX4 or Pentium processors, VESA gave way to the PCI bus and today it is the industry standard. It has become so much of a standard as to be used across platforms, being used by Apple and IBM in their PowerPC based computers and Sun and DEC in their work stations.

The Video System

Consists of two components, the Video Adapter Card and the Video Display Unit.
The Video Adapter Card is usually on a plug- in board, plugged into one of the computers external bus slots. Some DOS computer manufacturers have built the video circuitry into the computers System Board. This is bad practice as it precludes the possibility of upgrading the system to a better video standard.

When DOS was designed only 128K bytes of the memory space was assigned to the Video RAM and now this causes a bottle neck in the process of writing to the Video RAM. Today as much as four Meg byte of Video RAM may be required and this must be accessed a small portion at a time.

The Video System has seen substantial evolution since the early monochrome (MDA) and colour (CGA) systems. The AT computer introduced a better colour system called EGA and today the only video system available is VGA. Within the VGA standard there are many display modes providing a wide range of resolutions and colours. VGA in it simplest form provides a resolution of 640 by 480 and a range of 16 colours but "Super VGA", modes can provide in excess of 1024 by 800 resolution and in excess of 64,000 colours. The performance of the video system is dependant on both the Video Interface Card and the Video Monitor. The Video Interface card must have sufficient Video RAM to handle the range of resolutions and colours required and the monitor must be able to operate at the Horizontal and Vertical scan rates required by those Video Modes. The use of Video Accelerator Cards and putting the video card on a local bus has greatly increased the speed of the video system and has gone a long way to solving the processing bottle neck the video system had become.

Video Display Units (Monitors) are commonly available in 14, 15 17 and 20 inch sizes. The difference in price between a 14 inch and a 15 inch monitor is not much today but 17 inch monitors are still much more expensive. The quality of a monitor is determined by the Dot Pitch, the scan frequency range and by the sharpness, colour purity and convergence accuracy.

Floppy Disk Drives

Floppy Diskettes provide storage, back-up, and a method of exchanging data between computers. As magnetic media and DOS evolved, several Floppy Disk formats become commonly used in DOS type computers. The first IBM PC was fitted with a single sided, 40 track, 51/4 inch Floppy Disk Drive. With the original DOS, DOS version one, this drive provided a capacity of about 160K bytes per disk. The XT computer introduced a double sided drive and by using nine sectors per track, instead of the original 8 sectors, the capacity was increased to 360 Kbytes

The most common floppy disk formats for use in DOS computers over the years have been:

IBM introduced a 2.88M byte format, using 3-1/2 inch diskettes but this has seen little use.

Fixed Disk Drives (also called Hard Disk Drives)

Fixed Disk Drives provide storage for data and programs, and are available in a variety of access speeds, physical sizes, and capacities. The capacity of a hard disk drive is a function of the physical size of the platters, the number of magnetic platters, and the number of sectors per cylinder (the density of the system). Fixed Disk capacities range up to about ten thousand Meg byte today (10G byte). The disk data access speed of a fixed disk depends on the type of head positioning system, the drive interface used, the rotational speed of the drive, the number of sectors per cylinder and the number of read/write heads (sides). The limitations of disk access speed can be reduced by the use of a Disk Cache and by a Local Bus interface. The Cache may be a Software Cache that uses some of the available user RAM or it may be a Hardware Cache.

The standard I/O Ports

A DOS computer has Serial Ports, a Parallel Port and a Games Port, to interface it to the outside world.

The Games Port is for an Analogue Joy Stick and can have two Joysticks connected to it.

The Parallel ports can be used for interfacing to:

The Serial ports are used for:

BIOS - (Basic Input Output Services)

This is the built-in program that starts up the computer. The routines that make up the BIOS are stored in a "read only" (ROM) memory chip and are not lost when the power is turned off.

The routines in the BIOS ROM provide four basic start-up functions to the computer. (these are fered to as the POST routines)

In addition to the Post routines, the BIOS ROM also supplies basic input/output routines that can be used by DOS and by application software. These routines include services for disk access, parallel and serial port access, video and keyboard access.

Older DOS computers required a setup routine to be loaded from a disk to setup the hardware but modern computers have a series of setup routines in the BIOS ROM that can be accessed before the computer boots into an operating system.

CMOS

The PC and PC/XT type computers used a set of DIP switches on the system board to indicate to the POST routine the amount of memory installed, the type of video interface in use, and the number of floppy disk drives available. The AT computer introduced the concept of a memory with battery backup to hold this information and this technique has been carried on in all subsequent DOS computers. This memory is refered to as the CMOS (Complimentary Metal Oxide Semiconductor) and provides information on :-

The CMOS fitted to modern computers also allows many more options than these basic ones, options such as bus speed, boot up sequence, use of a password, and shadow RAM to mention but a few. All this information is saved when the computer is turned off and is available each time the computer restarts. Since the CMOS memory is not read-only memory, the data in it can be updated by a set-up program. The first AT type computers required the set-up routines to be loaded from a set-up disk but modern hardware has the set-up routines as part of the BIOS ROM, and the set-up is accesses by some "Hot Key" combination as the computer boots up.

Operating systems present and future

Over the years MS-DOS (and IBM's version, PC-DOS) has been the most common operating system installed on PC Computers. As the power available from the PC has increased Microsoft Windows, with it's graphical user interface, has gradually taken over from DOS. Windows versions up to Windows 95 have required DOS as a foundation so even a PC running Windows is still a DOS system. Windows provides a graphical user interface to the DOS environment.

A few users have adopted IBMs alternative operating system, OS/2 and various flavours of UNIX have been used on Intel hardware, but this to has failed to make much of an impact on the use of DOS as the operating system for Intel based hardware.

The main reason for the outstanding success of DOS and now Microsoft Windows has been the very large range of application software available for these operating systems.

When IBM released the PS/2 range, their successor to the AT, they switched over to a new operating system called OS/2. OS/2 was co-produced by IBM and Microsoft but IBM had a disagreement with Microsoft and continued to develop OS/2 on its own. OS/2 is an advanced 32 bit operating system that promised many advanced features over DOS and Microsoft Windows.

With the rapid acceptance of Microsoft Windows 3.1, an operating environment with a Graphical User Interface (GUI), Microsoft concentrated their future efforts on operating systems based on this user interface. Windows For Workgroups added peer to peer networking and is ideal for the small office or class room situation.

Windows NT was Microsofts first advanced 32 bit operating system and was quite a big advance over the DOS we had come to know, and to fit around its built in limitations. Windows NT can work with DOS, Windows, OS/2, Posix (a flavour of Unix) and its own NT applications. Many of the more advanced DOS applications are available written for Windows NT. Windows NT is a complete operating system in itself and does not require DOS as a foundation.

Windows NT has extensive networking built in and this is provided with an advanced file system and extensive security provisions. NT competes in the market place with Novell and with the OS/2 based Lan Manager.

Windows 95 was Microsofts mass market 32 bit operating system for desk top computers and gained popularity at a rapid rate since its introduction during the second half of 1995. Unlike the earlier Windows versions, Windows 95 does not require DOS to be loaded first, it is a complete operating system on its own. The next version of Microsofts GUI operating system is Windows 98.

Block diagram of a PC System Back to the opening index Book one index


Copyright © Phil. Storr, last updated 26th December 1998