|
58.231 bytes |
Parts Information |
Document ID: RMIE-3G7GC9 |
Aptiva - 2136 Diskette & CD-ROM Drives FRU parts
Applicable to: World-Wide
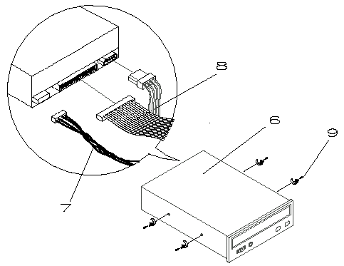
Assembly3 : Diskette, CD-ROM Drive
|
Asm-Index |
Part Number |
Description |
|
3-1 |
01K4242 |
Assembly 1.44MB Diskette Drive |
|
3-2 |
01K4214 |
3.5-in. 1.44MB Diskette Drive Knob |
|
3-3 |
01K4229 |
Diskette Drive Cable - 34P 4C 675MM |
|
3-4 |
01K4201 |
3.5-in. Drive Holder- upper |
|
3-5 |
01K4202 |
3.5-in. Drive Holder- lower |
|
3-6 |
01K4267 |
CD-ROM (8X) |
|
3-6 |
01K4268 |
CD-ROM (12X) |
|
3-6 |
03K0341 |
CD-ROM (16X)-AO |
|
3-6 |
03K0342 |
CD-ROM (16X)- API |
|
3-7 |
01K4228 |
CD-ROM Drive Audio Cable |
|
3-8 |
01K4224 |
CD-ROM IDE Cable |
|
3-9 |
01K4259 |
Mounting Screws (for Diskette & CD-ROM) |
|
Search Keywords |
| |
|
Document Category |
Service Parts | |
|
Date Created |
16-04-97 | |
|
Last Updated |
07-04-99 | |
|
Revision Date |
07-04-2000 | |
|
Brand |
IBM Aptiva | |
|
Product Family |
Aptiva | |
|
Machine Type |
2136 | |
|
Model |
All | |
|
TypeModel |
| |
|
Retain Tip (if applicable) |
| |
|
Reverse Doclinks |