68.647 bytes

Product Information

Document ID: DDSE-42ZRW4

Netfinity 5000 - Completing the Rack Model Installation

Applicable to: World-Wide

Completing the Rack Model Installation
1. Replace the top cover:
a. Align the top cover with the top of the server, about 25 mm (1 inch) from the front of the server.
b. Hold the cover against the server and slide the cover toward the front of the server until the cover clicks into place.

Note
Be sure the front edge of the cover is flat against the server.



c. Turn the captive thumbscrew until the cover
is secured.
2. Replace the bezel, if it was removed.
a. Place the bezel tabs in the slots at the left front of the server.

b. Press the right end of the bezel toward the server front until the bezel clicks into place.

3. Attach the monitor, keyboard, and power cables to the corresponding connectors on the server. Refer to the rack documentation for instructions.

4. If you have a modem or fax machine attached to the server, reconnect the telephone line to the wall outlet and the server.


Caution
Use safe lifting practices when lifting your machine.


5. If you are installing the rack model in the rack for the first time, go to Installing the Server in the Rack Enclosure and then go to Updating the Server Configuration. Otherwise, continue with the following instructions to secure the rack model in the rack.
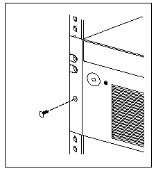
a. Slide the rack model into the rack.


b. Locate the screws that you removed in step 3.
c. Insert the screws through the bracket, mounting rail, and cage nut.

What to do next
When you have completed installing the cover and cables, go to Updating the Server Configuration.



Search Keywords

Document Category

Hardware Installation/Configuration, Hardware Maintenance Information

Date Created

09-12-98

Last Updated

14-05-99

Revision Date

15-05-2000

Brand

IBM PC Server

Product Family

Netfinity 5000

Machine Type

8659

Model

All

TypeModel

Retain Tip (if applicable)

Reverse Doclinks
and Admin Purposes