|
48.375 bytes |
Parts Information |
Document ID: COBN-38YGSB |
3517 SCSI Multi-Storage Enclosures - System Parts Listing
Applicable to: World-Wide
|
Index |
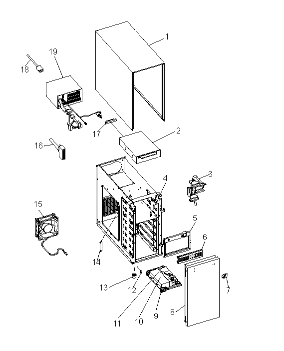
SCSI Multi-Storage Enclosure (Type 3517) | |
|
1 |
Top Cover Assembly |
05H4680 |
|
Screws, Top Cover Assembly (4 each) |
27H2338 | |
|
2 |
4GB/8GB 4-mm Tape Drive |
16G8454 |
|
Screws, 4-mm Tape Drive (4 each) |
27H2338 | |
|
3 |
SCSI Cable Assembly, Internal |
05H4827 |
|
Screw-locks, SCSI Cable (2 each) |
27H0863 | |
|
Cable Tie |
1159519 | |
|
4 |
Backplane Assembly (with 5-bay, hot-swap cage) |
26H9180 |
|
Screws, Backplane Assembly (8 each) |
27H0840 | |
|
5 |
Control Panel Assembly |
26H9191 |
|
6 |
Blank Media-Bay Panel |
06H2187 |
|
7 |
IBM Logo |
44H7627 |
|
8 |
Front Cover Assembly |
26H9206 |
|
9 |
16-Bit Power Carrier, Hot-Swap Hard Disk Drive |
06H7362 |
|
Screws, Hot-Swap Hard Disk Drive to Carrier (4 each) |
1147429 | |
|
10 |
16-Bit 1.1GB Hot-Swap Hard Disk Drive |
06H8560 |
|
16-Bit 2.2GB Hot-Swap Hard Disk Drive |
06H8561 | |
|
16-Bit 4.5GB Hot-Swap Hard Disk Drive |
06H8563 | |
|
11 |
Cable,16-Bit Address,Disk Drive to Carrier |
06H7691 |
|
12 |
Latch |
26H9207 |
|
13 |
Feet (4 each) |
26H9234 |
|
Screws, Feet (4 each) |
49G5445 | |
|
14 |
Blank SCSI Panel |
27H0862 |
|
Screws, Blank SCSI Panel (2 each) |
27H2338 | |
|
15 |
Fan Assembly, includes Isolators and Finger Guard |
27H0922 |
|
Cable Tie |
1159519 | |
|
16 |
SCSI Fast/Wide 1X Cable |
06H3231 |
|
SCSI Wide 1X Cable |
70G9857 | |
|
17 |
Interposer, 2 x 25 to 68 Pin |
92F0324 |
|
18 |
Power Cord |
26H9205 |
|
19 |
Power Supply | |
|
Screws, Power Supply (4 each) |
34H8186 | |
|
Screws, Power Switch (2 each) |
34H8186 | |
|
Cable Tie |
1159519 | |
|
Media Kit, 4GB/8GB 4-mm Tape Drive |
8191149 | |
|
4GB/8GB 4-mm Tape Drive Data Cartridge (8191160) | ||
|
4GB 4-mm Tape Drive Diagnostic Cartridge (8191146) | ||
|
4-mm Tape Drive Cleaning Cartridge (21F8763) |
|
Search Keywords |
| |
|
Document Category |
Service Parts | |
|
Date Created |
26-08-96 | |
|
Last Updated |
24-03-99 | |
|
Revision Date |
24-03-2000 | |
|
Brand |
IBM PC Server | |
|
Product Family |
Rack/Storage Enclosures | |
|
Machine Type |
3517 | |
|
Model |
| |
|
TypeModel |
| |
|
Retain Tip (if applicable) |
| |
|
Reverse Doclinks |