|
92.525 bytes |
Parts Information |
Document ID: RMIE-3G7GGQ |
Aptiva - 2136 Hard drive, audio & fax/modem serviceU parts
Applicable to: World-Wide
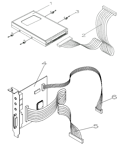
Assembly 4 : Hard Disk Drives, Audio-I/O Board and Fax/Modem Card
|
Asm-Index |
Part Number |
Description |
|
4-1 |
03K0330 |
2.1GB Hard Disk Drive (Quantum, 5.25") |
|
4-1 |
02K2263 |
4.3GB Hard Disk Drive (Quantum, 5.25ö) |
|
4-1 |
03K0322 |
1.2GB Hard Disk Drive (Seagate) |
|
4-1 |
03K0323 |
1.7GB Hard Disk Drive (Seagate) |
|
4-1 |
03K0324 |
2.1GB Hard Disk Drive (Seagate) |
|
4-1 |
03K0325 |
2.5GB Hard Disk Drive (Seagate) |
|
4-1 |
03K0326 |
3.2GB Hard Disk Drive (Seagate) |
|
4-2 |
01K4224 |
Hard Disk Drive Cable - 40P 3C 450MM |
|
4-3 |
01K4260 |
Mounting Screws (for HDD) |
|
4-4 |
01K4240 |
Assembly Audio I/O Board w/Wavetable w/o Cables |
|
4-NS |
03K0318 |
Assembly Audio I/O Board w/o Cables |
|
4-5 |
01K4232 |
Audio I/O Board Cable - 34pin |
|
4-6 |
01K4233 |
Audio I/O Board Cable - 10pin |
|
4-7 |
01K4234 |
Modem Card (US/CA) w/o Phone Cord |
|
4-7 |
01K4272 |
Modem Card (GE) w/o Phone Cord |
|
4-7 |
03K0320 |
Modem Card (FR) w/o Phone Cord |
|
4-7 |
03K0321 |
Modem Card (UK) w/o Phone Cord |
|
4-7 |
03K0331 |
Modem Card (ND) w/o Phone Cord |
|
4-7 |
03K0332 |
Modem Card (SG) w/o Phone Cord |
|
4-7 |
03K0333 |
Modem Card (NO) w/o Phone Cord |
|
4-7 |
03K0335 |
Modem Card (SU) w/o Phone Cord |
|
4-7 |
03K0336 |
Modem Card (DK) w/o Phone Cord |
|
4-7 |
03K0337 |
Modem Card (SV) w/o Phone Cord |
|
4-7 |
03K0340 |
Modem Card (AS) w/o Phone Cord |
|
4-8 |
01K4231 |
Modem Card Audio Cable |
|
4-NS |
03K0311 |
Phone Cord (FR, GE, UK) |
|
4-NS |
Country Specific Adapter(GR)* | |
|
4-NS |
Country Specific Adapter(FR)* | |
|
4-NS |
Country Specific Adapter(UK)* | |
|
* An adapter is necessary for those phone cords which are used in countries other than the Canada. | ||
|
4-9 |
06J7897 |
Speaker (3.0W CA) |
|
4-9 |
01K4190 |
Speaker (3.0W UK) |
|
4-9 |
01K4189 |
Speaker(3.0W GR/FR) |
|
4-10 |
01K4191 |
Microphone(CA) |
|
Search Keywords |
| |
|
Document Category |
Service Parts | |
|
Date Created |
16-04-97 | |
|
Last Updated |
07-04-99 | |
|
Revision Date |
07-04-2000 | |
|
Brand |
IBM Aptiva | |
|
Product Family |
Aptiva | |
|
Machine Type |
2136 | |
|
Model |
All | |
|
TypeModel |
| |
|
Retain Tip (if applicable) |
| |
|
Reverse Doclinks |