28.112 bytes

Parts Information

Document ID: COBN-3GGBGQ

Aptiva - 2161 Diskette, hard disk and internal zip drive service parts

Applicable to: World-Wide

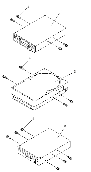
Assembly 3: Diskette, Hard Disk Drives, and Internal Zip Drive

Asm-
Index

Part
Number

Units

Description

3-1

93F2361

1

3.5-in. 2 Mode 1.44 MB Diskette Drive

-1

41H7675

1

3.5-in. 3 Mode 1.2 MB Diskette
Drive

-2

75H7498

1

2.0 GB Hard Disk Drive

-2

76H4608

1

3.1 GB Hard Disk Drive

-2

76H5820

1

4.2 GB Hard Disk Drive
Note: When referring to hard-disk-drive capacity, MB means 1 000 000 bytes; total user-accessible capacity may vary depending on operating environment.

When referring to hard-disk-drive capacity, GB
means 1 000 000 000 bytes; total user-accessible capacity may vary depending on operating environment

-3

76H3226

1

Internal Zip Drive, 100 MB

-4

93F0041

1

Packet (Mounting Screws)



Search Keywords

Document Category

Service Parts

Date Created

25-04-97

Last Updated

07-04-99

Revision Date

07-04-2000

Brand

IBM Aptiva

Product Family

Aptiva

Machine Type

2161

Model

all

TypeModel

Retain Tip (if applicable)

Reverse Doclinks
and Admin Purposes