|
23.647 bytes |
Service Hints & Tips |
Document ID: GSMH-3D7DNZ |
|
This document is provided to IBM and our Business Partners to help sell and/or service IBM products. It is not to be distributed beyond that audience or used for any other purpose. |
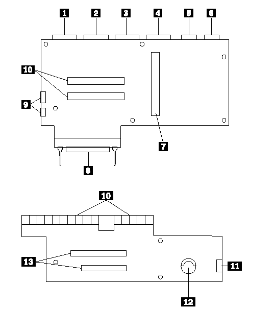
TP 3550 Expansion Unit - Parts Locations
Applicable to: World-Wide
Locations:
System Board:
|
1 |
External SCSI Connector |
|
2 |
Serial Connector |
|
3 |
Parallel Connector |
|
4 |
Pointing Device Connector |
|
5 |
Keyboard Connector |
|
6 |
120-Pin Connector |
|
7 |
System Board-Sub Connector |
|
8 |
Power Supply Connectors |
|
9 |
Internal SCSI Cable Connector |
|
10 |
System Board-Main Interface |
|
11 |
Wire Assembly Connector |
|
12 |
Backup Battery |
|
13 |
16-Bit Expansion Slots |

|
Search Keywords |
| |
|
Hint Category |
Hardware Maintenance Information | |
|
Date Created |
10-01-97 | |
|
Last Updated |
07-04-98 | |
|
Revision Date |
06-04-99 | |
|
Brand |
IBM ThinkPad | |
|
Product Family |
ThinkPad Docking Stations | |
|
Machine Type |
3550 | |
|
Model |
001 | |
|
TypeModel |
| |
|
Retain Tip (if applicable) |
N/A | |
|
Reverse Doclinks |