|
48.211 bytes |
Parts Information |
Document ID: GSMH-3F9M63 |
IBM PC340 (Type 6560) - Parts diagram/FRU listing
Applicable to: World-Wide
Type 6560 Parts:
For a copy of Parts Listing please double-click here:
|
Index |
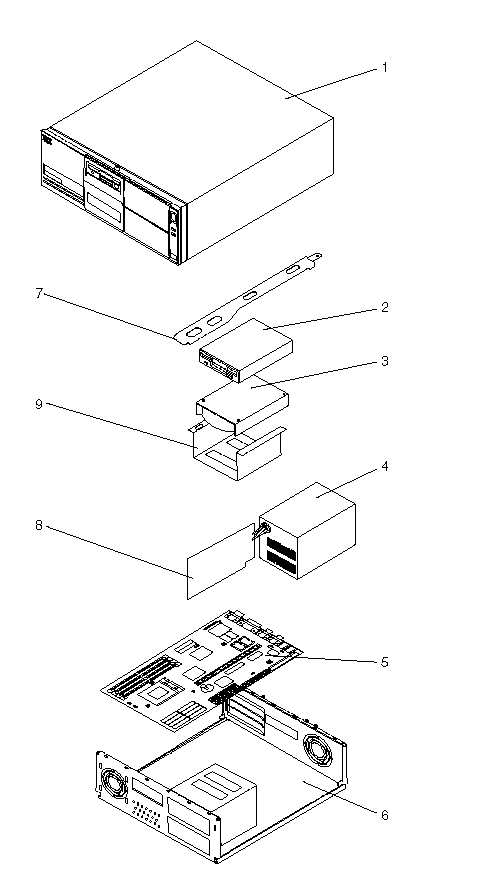
System Unit (Type 6560) |
Part Number |
|
1 |
Top Cover and Logo Top Cover, including front bezel 4x4 |
75H7956 |
|
Label Plate - Personal Computer 340 (6560) |
75H7959 | |
|
Bezel Covers Kit |
75H7958 | |
|
2 |
Diskette Drive and Cable | |
|
3.5" 1.44 MB Diskette Drive |
93F2361 | |
|
3.5-Inch 1.44 MB Diskette Drive (Japan Only - Short Button) |
41H7675 | |
|
3.5-Inch 1.44 MB Diskette Drive (Japan Only - Long Button) |
41H7676 | |
|
Diskette Drive Cable |
06H6325 | |
|
3 |
Hard Disk/CD Drives and Cables | |
|
850 MB Hard Disk Drive IDE |
06H8419 | |
|
850 MB Hard Disk Drive IDE |
42H1825 | |
|
1.2 GB Hard Disk Drive IDE |
07H0383 | |
|
1.2 GB Hard Disk Drive IDE |
07H1120 | |
|
2.5 GB Hard Disk Drive IDE |
07H1123 | |
|
CD-ROM Drive 6X IDE |
75H9601 | |
|
CD-ROM Drive 6X IDE |
06H9429 | |
|
Toroid Kit for 6X CD-ROM Drive |
11H6128 | |
|
IDE Cable |
06H6326 | |
|
LED and Cable Power/Hard Disk Drive |
07H1444 | |
|
4 |
Power Supply (Order one of the following power supplies for Type 6560) | |
|
145 Watt Power Supply |
75H8473 | |
|
145 Watt Power Supply (without switch bracket) |
75H8474 | |
|
145 Watt Power Supply |
07H1441 | |
|
200 Watt Power Supply (Japan) |
06H2968 | |
|
Switch Cable Assembly (Japan) |
06H3863 | |
|
5 |
System Board (Without processor, memory, or cache) | |
|
System Board |
93H4641 | |
|
System Board (with cache) |
93H4603 | |
|
L2 Cache | ||
|
256 KB |
42H2804 | |
|
Processors | ||
|
P54C-100 |
07H1446 | |
|
P54C-120 |
07H1451 | |
|
P54C-133 |
75H8235 | |
|
P54C-166 |
75H8261 | |
|
72-Pin Memory SIMM | ||
|
4 MB Non-parity EDO |
92G7319 | |
|
8 MB Non-parity EDO |
92G7321 | |
|
16 MB Non-parity EDO |
92G7323 | |
|
6 |
Base Assembly | |
|
Base Assembly 4x4 (6560) |
75H7957 | |
|
Fan Assembly 80 mm |
75H8258 | |
|
Foot 4 each |
07H1440 | |
|
LED and Cable Power/Hard Disk Drive |
07H1444 | |
|
Lithium Battery |
33F8354 | |
|
Power Button |
75H7979 | |
|
Ball and Clip (Twist-off) |
06H4585 | |
|
Jumper Kit |
93F0067 | |
|
Mouse |
06H4595 | |
|
Mounting Screws |
93F0041 | |
|
7 |
Card Guide | |
|
Riser Card Support Bracket |
76H1788 | |
|
8 |
Riser Card 4x4 PCI/ISA |
12H0897 |
|
9 |
Removable DASD Tray |
76H1789 |
|
Search Keywords |
| |
|
Document Category |
Service Parts | |
|
Date Created |
17-03-97 | |
|
Last Updated |
11-11-98 | |
|
Revision Date |
11-11-99 | |
|
Brand |
IBM PC | |
|
Product Family |
PC 340 | |
|
Machine Type |
6560 | |
|
Model |
Various | |
|
TypeModel |
| |
|
Retain Tip (if applicable) |
| |
|
Reverse Doclinks |