|
121.041 bytes |
Service Hints & Tips |
Document ID: LWIK-3PCNKX |
|
This document is provided to IBM and our Business Partners to help sell and/or service IBM products. It is not to be distributed beyond that audience or used for any other purpose. |
TP 560/E - 1050 Keyboard Unit
Applicable to: World-Wide
1050 Keyboard Unit:
Battery Pack (1030)
|
Step |
Length (Quantity) |
Torque |
|
1 |
12 mm, nylon coating (2) |
4.0 kgcm |
|
2 |
7 mm, nylon coating (12) |
4.0 kgcm |
|
Note: |
Do not use the screw that you have removed. |
|
Use a new screw and tighten the screw to the torque specification shown. |
When replacing:
When replacing the frame first replace the middle four screws that shown in black in the figure; then check whether the click buttons of the TrackPoint III can be pressed correctly.
If the frame is not in place, the click buttons do not work.
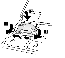
Note:
Be careful not to remove the Esc key when you remove the frame. If Esc key is removed, replace the key as shown.

|
Search Keywords |
| |
|
Hint Category |
Hardware Maintenance Information | |
|
Date Created |
01-12-97 | |
|
Last Updated |
07-04-98 | |
|
Revision Date |
16-03-99 | |
|
Brand |
IBM ThinkPad | |
|
Product Family |
ThinkPad 560, ThinkPad 560E | |
|
Machine Type |
2640 | |
|
Model |
Various | |
|
TypeModel |
| |
|
Retain Tip (if applicable) |
| |
|
Reverse Doclinks |