|
55.233 bytes |
Parts Information |
Document ID: GSMH-3AFL2G |
IBM PC100/PC140 - Parts diagram/FRU listing
Applicable to: World-Wide
Parts Listing:
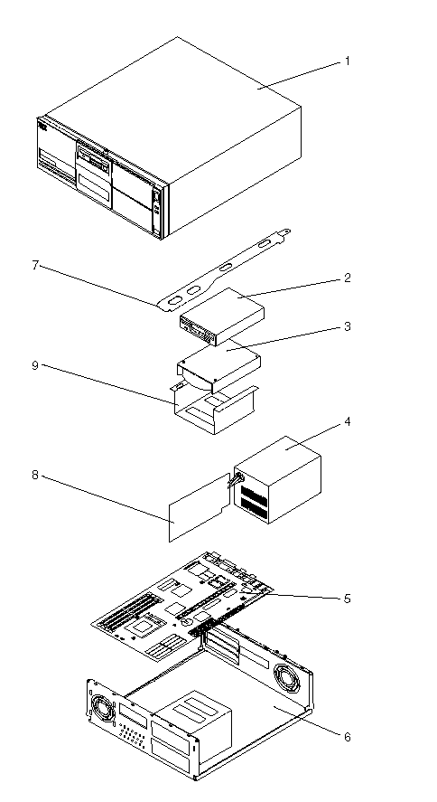
Diagram, PC140 (Type 6260):
Index System Unit (Type 62XX)
|
1 |
Top Cover and Logo |
P/N |
|
Top Cover, including front bezel 4x4 (6260) |
75H7956 | |
|
Label Plate - Personal Computer 100 (6260) |
75H7980 | |
|
Bezel Covers Kit (6260) |
75H7958 | |
|
Top Cover 3x3 with Labels (6271) |
06H5722 | |
|
Top Cover 5x5 with Labels (6281) |
06H1771 | |
|
IBM Logo (6271, 6281) |
06H5723 | |
|
2 |
Diskette Drives and Cables | |
|
3.5" 1.44 MB Diskette Drive |
93F2361 | |
|
3.5" 2.88 MB Diskette Drive |
82G1887 | |
|
5.25" 1.2 MB Diskette Drive |
82G1824 | |
|
Diskette Drive Cable 4x4 (6260) |
06H6325 | |
|
Diskette Drive Cable 3x3 (6271) |
06H6344 | |
|
Diskette Drive Cable 5x5 (6281) |
92F0423 | |
|
3 |
Hard Disk Drives and Cables | |
|
170 MB Hard Disk Drive (6271, 6281) |
71G4958 | |
|
270 MB Hard Disk Drive (6271, 6281) |
06H4152 | |
|
364 MB Hard Disk Drive (6271, 6281) |
82G5927 | |
|
540 MB Hard Disk Drive (6271, 6281) |
82G5928 | |
|
635 MB Hard Disk Drive (6260) |
06H9063 | |
|
728 MB Hard Disk Drive (6271, 6281) |
82G5929 | |
|
850 MB Hard Disk Drive (6260) |
06H8419 | |
|
1 GB Hard Disk Drive (6271, 6281) |
06H6111 | |
|
Hard Disk Drive Cable |
06H6326 | |
|
Hard Disk Drive LED and Cable (6260) |
07H1444 | |
|
Hard Disk Drive LED and Cable (6271, 6281) |
93F2388 | |
|
4 |
Power Supplies | |
|
145 Watt Power Supply 4x4 (6260) |
07H1441 | |
|
145 Watt Power Supply 3x3 (6271) |
06H2972 | |
|
210 Watt Power Supply 5x5 (6281) |
06H2967 | |
|
5 |
System Board | |
|
System Board (6260) |
12H0891 | |
|
System Board (6271, 6281) |
96G1819 | |
|
Processors | ||
|
P54C-75 (6260) |
07H1445 | |
|
P54C-100 (6260) |
07H1446 | |
|
486DX2-33/66 (6271, 6281) |
71G0795 | |
|
486DX4-100 with regulator (6271, 6281) |
42H0380 | |
|
72-Pin Memory (Non-parity) | ||
|
4 MB Non-parity (6260) |
07H1450 | |
|
8 MB Non-parity (6260) |
07H1447 | |
|
16 MB Non-parity (6260) |
07H1448 | |
|
4 MB Non-parity (6271, 6281) |
92G7540 | |
|
8 MB Non-parity (6271, 6281) |
92G7542 | |
|
16 MB Non-parity (6271, 6281) |
92G7544 | |
|
32 MB Non-parity (6271, 6281) |
92G7546 | |
|
L2 Cache | ||
|
128 KB (6271, 6281) |
06H4759 | |
|
256 KB (6271, 6281) |
06H4760 | |
|
6 |
Base Assembly | |
|
Base Assembly 4x4 (6260) |
75H7957 | |
|
Foot 4 each 4x4 (6260) |
07H1440 | |
|
Base Assembly 3x3 (6271) |
06H5728 | |
|
Foot 4 each 3x3 (6271) |
10H3080 | |
|
Base Assembly 5x5 (6281) |
06H1772 | |
|
Foot 4 each 5x5 (6281) |
06H1773 | |
|
LED and Power Cable |
93F2389 | |
|
Blank Bezel with/without Audio 3x3 (6271) |
06H6992 | |
|
Blank Bezel with/without Audio 5x5 (6281) |
06H1774 | |
|
Blank Bezel Holder 3x3 (6271) |
06H5740 | |
|
Blank Bezel PCMCIA 3x3 (6271) |
06H5741 | |
|
Blank Bezel PCMCIA 5x5 (6281) |
06H1784 | |
|
Blank Drive Bezel 3.5" 3x3 (6271) |
06H5739 | |
|
Blank Drive Bezel 5.25" |
06H5738 | |
|
Cover Latch 3x3 (6271) |
06H5736 | |
|
Cover Latch 5x5 (6281) |
06H1783 | |
|
Cover Lock Assembly 3x3 (6271) |
06H6994 | |
|
Cover Lock Assembly 5x5 (6281) |
06H1776 | |
|
EMC Clips 6 each |
06H5734 | |
|
EMC Shield 4 each 3x3 (6271) |
06H5747 | |
|
EMC Shield 4 each 5x5 (6281) |
06H1782 | |
|
Fan Assembly (80MM) |
06H1796 | |
|
Floor Stand Assembly |
06H1792 | |
|
Lithium Battery (See page /CTB/) |
33F8354 | |
|
PCMCIA Bracket 3x3 (6271) |
82G4982 | |
|
PCMCIA Bracket 5x5 (6281) |
06H1790 | |
|
PCMCIA Card Assembly ISA |
81G4632 | |
|
PCMCIA Bay Assembly |
81G4633 | |
|
Power Button 4x4 (6260) |
75H7979 | |
|
Power Button 3x3 (6271) |
06H5724 | |
|
Power Button 5x5 (6281) |
06H1777 | |
|
Power Switch and Cable |
60G2258 | |
|
Rear Decorative Panel 3x3 (6271) |
10H2925 | |
|
Rear Decorative Panel 5x5 (6281) |
06H1785 | |
|
Rear I/O Panel ISA 3x3 (6271) |
06H5744 | |
|
Rear I/O Panel ISA 5x5 (6281) |
06H1786 | |
|
Ball and Clip (Twist-off) |
06H4585 | |
|
Jumper Kit |
93F0067 | |
|
Mouse |
06H4595 | |
|
Mounting Screws |
93F0041 | |
|
7 |
Card Guides | |
|
Riser Card Support Bracket (6260) |
76H1788 | |
|
Card Guide PCMCIA 3x3 (6271) |
06H5731 | |
|
Card Guide ISA 3x3 (6271) |
06H5730 | |
|
Card Guide ISA 5x5 (6281) |
06H1779 | |
|
8 |
Riser Cards | |
|
4x4 PCI/ISA (6260) |
12H0897 | |
|
3x3 ISA/VESA (6271) |
88G4250 | |
|
5x5 ISA/VESA (6281) |
88G4260 | |
|
9 |
Removable DASD Tray 4x4 (6260) |
76H1789 |
|
9 |
DASD Mounting Tray 3x3 (6271) |
06H5743 |
|
9 |
Removable DASD Tray 5x5 (6281) |
06H1780 |
|
10 |
Front Bezel with label 3x3 (6271) |
06H6994 |
|
10 |
Front Bezel with label 5x5 (6281) |
06H1775 |
|
11 |
Non-removal DASD Tray 5x5 (6281) |
06H1781 |
|
Communications | ||
|
FAX/Modem Assembly ISA |
04H5788 | |
|
FAX/Modem Cable ISA |
06H6053 |
|
Search Keywords |
| |
|
Document Category |
Service Parts | |
|
Date Created |
14-05-96 | |
|
Last Updated |
11-11-98 | |
|
Revision Date |
11-11-99 | |
|
Brand |
IBM PC | |
|
Product Family |
PC 100, PC 140 | |
|
Machine Type |
6271, 6281, 6260 | |
|
Model |
all | |
|
TypeModel |
| |
|
Retain Tip (if applicable) |
N/A | |
|
Reverse Doclinks |