|
128.518 bytes |
Service Hints & Tips |
Document ID: BMOE-3YFR8Z |
TP 600/E - 2030 Inverter Card Removal
Applicable to: World-Wide
The following information is intended for IBM Dealers and Authorized Servicers only. Customers attempting to follow any of the procedures below may void their warranty.
Battery Pack (1030)
Hard Disk Drive (1040)
CD-ROM Drive or Diskette Drive (1050)
Keyboard Assembly (1060)
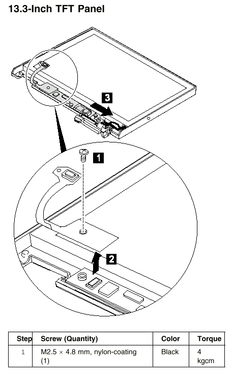
LCD Assembly (1090)
LCD Front Cover (2010)
LCD Hinges and Cables (2020)
|
Search Keywords |
| |
|
Hint Category |
Hardware Maintenance Information | |
|
Date Created |
18-09-98 | |
|
Last Updated |
19-01-99 | |
|
Revision Date |
19-01-2000 | |
|
Brand |
IBM ThinkPad | |
|
Product Family |
ThinkPad 600, ThinkPad 600E | |
|
Machine Type |
2645, 2646 | |
|
Model |
Various | |
|
TypeModel |
| |
|
Retain Tip (if applicable) |
| |
|
Reverse Doclinks |