91.466 bytes

Product Information

Document ID: MCGN-45WRJ6

Netfinity 5500 M20 - Memory modules

Applicable to: World-Wide

Source: Hardware Maintenance Manual

Memory modules
Adding memory to the server is an easy way to make programs run faster. You can increase the amount of memory in the server by installing options called
memory-module kits. Each kit contains one industry-standard, dual-inline memory module (DIMM). The server uses a non-interleaved memory configuration.

The server comes with a memory module installed on the memory board in connector J1, the connector nearest the top of the server. Install additional memory modules in connectors J5, J2, J6, J3, J7, J4, and J8, in that order. (See the following illustration for memory connector locations.) If you mix DIMM sizes, install the largest-sized DIMM in connector J1, the next-largest-sized DIMM in connector J5, and so forth.

Notes
1. The memory-module kit sizes available for the server are 128 MB, 256 MB, and 512 MB. The server supports a minimum of 128 MB and a maximum of 4 GB of system memory.
2. Install only 3.3 V, 168-pin, 8-byte, registered DIMMs. Only 100 MHz, 72-bit, registered, synchronous, error correcting code (ECC), x4 configuration DIMM memory is supported for the 128 MB, 256 MB, and 512 MB DIMMs.
3. Installing or removing memory modules changes the configuration information in the server. Therefore, after installing or removing a DIMM, you must save the new configuration information in the Configuration/Setup Utility program. When you restart the server, the system displays a message indicating that the memory configuration has changed. Start the Configuration/Setup Utility program and select Save Settings. See "Configuration/Setup Utility main menu" for more information.


Refer to the following illustrations of the processor support tray and the processor board while you perform the steps in this procedure.

Note
For simplicity, the illustrations show only the processor support tray and processor board; you do not need to remove the processor support tray and processor board to install a memory module.


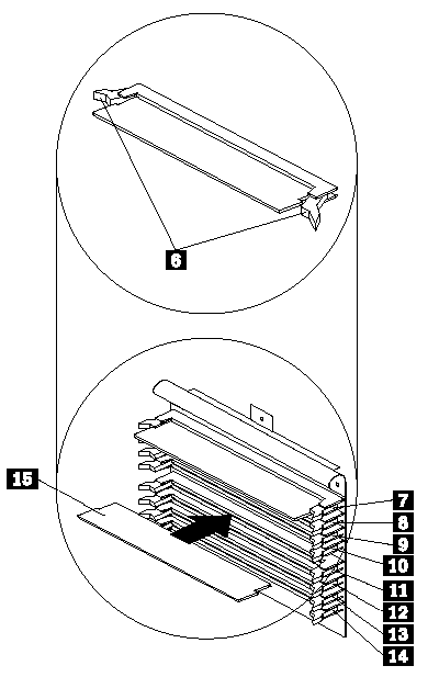
1 Processor support tray cover
2 Quarter-turn fasteners

3 Thumbscrew
4 Memory board
5 Memory board handle

6 Retaining clips
7 Memory connector 1 (J1)
8 Memory connector 2 (J2)
9 Memory connector 3 (J3)
10 Memory connector 4 (J4)
11 Memory connector 5 (J5)
12 Memory connector 6 (J6)
13 Memory connector 7 (J7)
14 Memory connector 8 (J8)
15 DIMM

Note

  • Read "Safety information".
  • Read the documentation that comes with the option.


To install a memory module:
1. Turn off the server and peripheral devices and disconnect all external cables and power cords.; then remove the top cover.
2. Turn the two quarter-turn fasteners 2 on the processor support tray cover 1 one quarter turn and remove the cover from the processor support tray.
3. Remove the memory board 4 (see "Memory board removal").
4. Locate the memory-module connectors on the memory board. Determine the memory-module connector into which you will install the memory module. (See the notes at the beginning of this procedure.)
5. Touch the static-protective package containing the memory-module kit to any unpainted metal surface on the server. Then, remove the memory module from
the package.

Note
To avoid breaking the retaining clips or damaging the memory-module connectors, handle the clips gently.


6. Install the memory module:
a. Turn the memory module (DIMM) 15 so that the pins align correctly with the connector 11.
b. Insert the DIMM into the connector by pressing on one edge of the DIMM and then on the other edge of the DIMM. Be sure to press straight into the connector. Be sure that the retaining clips 6 snap into the closed positions.
c. Make sure the retaining clips 6 are in the closed position. If a gap exists between the DIMM and the retaining clips, the DIMM has not been properly installed. In this case, open the retaining clips and remove the DIMM; then, reinsert the DIMM.
d. Repeat these steps for each memory module that you install.
7. Install the memory board 4
8. Install the processor support tray cover 1 and turn the two quarter-turn fasteners 2 one quarter turn to secure the cover.
9. If you have other options to install or remove, do so now; otherwise, go to "Completing the installation".

Search Keywords

Document Category

Diagrams

Date Created

12-03-99

Last Updated

21-05-99

Revision Date

16-03-2000

Brand

IBM PC Server

Product Family

Netfinity 5500 M20

Machine Type

8662

Model

ALL

TypeModel

Retain Tip (if applicable)

Reverse Doclinks
and Admin Purposes