|
25.647 bytes |
Service Hints & Tips |
Document ID: BMOE-3YLL9B |
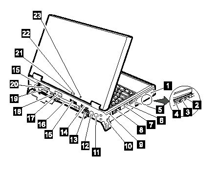
TP 770 - Rear view
Applicable to: World-Wide
Rear View:
|
1 |
Battery pack |
|
2 |
Video in port |
|
3 |
Video out port |
|
3 |
Modem/fax port |
|
4 |
Reserved |
|
5 |
Volume control |
|
6 |
Microphone/line-in jack |
|
7 |
Headphone jack |
|
8 |
Power switch |
|
9 |
Reset switch |
|
10 |
Security keyhole |
|
11 |
AC power jack |
|
12 |
External input device port |
|
13 |
Serial port |
|
14 |
Universal serial (USB) port |
|
15 |
Fan louvers |
|
16 |
System expansion port |
|
17 |
Rear infrared port |
|
18 |
External display port |
|
19 |
Parallel port |
|
20 |
External diskette drive |
|
21 |
Power-on indicator |
|
22 |
Suspend indicator |
|
23 |
Charge indicator |
|
Search Keywords |
| |
|
Hint Category |
General Information | |
|
Date Created |
23-09-98 | |
|
Last Updated |
19-01-99 | |
|
Revision Date |
19-01-2000 | |
|
Brand |
IBM ThinkPad | |
|
Product Family |
ThinkPad 770, ThinkPad 770E/ED, ThinkPad 770X | |
|
Machine Type |
9548, 9549, 9544 | |
|
Model |
Various | |
|
TypeModel |
| |
|
Retain Tip (if applicable) |
| |
|
Reverse Doclinks |