|
211.955 bytes |
Service Hints & Tips |
Document ID: GKEY-3KEBVD |
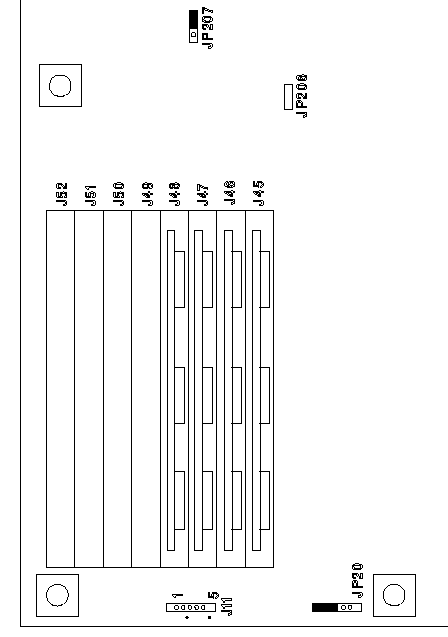
PS/1 - System Board Layout 486DX 33MHz
Applicable to: World-Wide
The diagram below has been divided into four larger sections for ease of viewing. Please scroll through the document to view each section. The sections are as follows:-
Figure 1 - Top Left Corner
Figure 2 - Bottom Left Corner
Figure 3 - Bottom Right Corner
Figure 4 - Top Right Corner
Figure 1
Top-Left Corner
Figure 2
Bottom-Left Corner
Figure 3
Bottom-Right Corner
Figure 4
Top-Right Corner

|
Search Keywords |
| |
|
Hint Category |
Hardware Installation/Configuration, System Boards | |
|
Date Created |
30-11-95 | |
|
Last Updated |
17-12-98 | |
|
Revision Date |
17-12-99 | |
|
Brand |
IBM Aptiva | |
|
Product Family |
PS/1 | |
|
Machine Type |
2133, 2155 | |
|
Model |
Various | |
|
TypeModel |
| |
|
Retain Tip (if applicable) |
N/A | |
|
Reverse Doclinks |