|
63.716 bytes |
Service Hints & Tips |
Document ID: GSMH-3D6G6H |
|
This document is provided to IBM and our Business Partners to help sell and/or service IBM products. It is not to be distributed beyond that audience or used for any other purpose. |
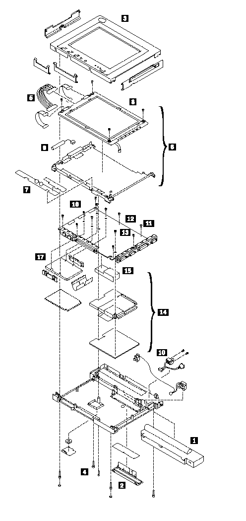
TP 710T - Exploded View
Applicable to: World-Wide
ThinkPad 710T Exploded View:

|
Search Keywords |
| |
|
Hint Category |
Hardware Maintenance Information | |
|
Date Created |
09-01-97 | |
|
Last Updated |
01-05-98 | |
|
Revision Date |
27-04-99 | |
|
Brand |
IBM ThinkPad | |
|
Product Family |
ThinkPad 710 | |
|
Machine Type |
2523 | |
|
Model |
Various | |
|
TypeModel |
| |
|
Retain Tip (if applicable) |
N/A | |
|
Reverse Doclinks |