20.332 bytes

Parts Information

Document ID: COBN-3GCBVQ

Aptiva - 2162 Diskette and hard disk service parts

Applicable to: World-Wide

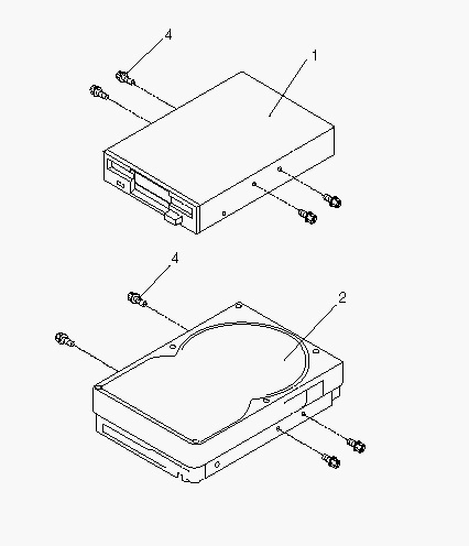
Assembly 3: Diskette and Hard Disk Drives

Asm-
Index

Part
Number

Units

Description

3-1

75H9550

3.5-in. 1.44 MB Diskette Drive

-1

75H9552

3.5-in. 1.44 MB Diskette Drive
(Japan, Korea, Hong Kong, and Taiwan)

-2

75H7498

2.0 GB Hard Disk Drive

-2

76H4608

3.1 GB Hard Disk Drive

-2

76H5820

4.2 GB Hard Disk Drive
Note:
When referring to hard-disk-drive capacity, MB means 1 000 000 bytes; total user-accessible capacity may vary depending on operating environment.
When referring to hard-disk-drive capacity, GB means 1 000 000 000 bytes; total user-accessible capacity may vary depending on operating environment.
Note:
See the Appendix B, ¨Model/Monitor Configurations and FRU Part Numbers´ on page B-1 for model specifications.

-4

93F0041

Packet (Mounting Screws)



Search Keywords

Document Category

Service Parts

Date Created

21-04-97

Last Updated

07-04-99

Revision Date

07-04-2000

Brand

IBM Aptiva

Product Family

Aptiva

Machine Type

2162

Model

all

TypeModel

Retain Tip (if applicable)

Reverse Doclinks
and Admin Purposes