|
20.430 bytes |
Service Hints & Tips |
Document ID: DETR-3ZPHGX |
Aptiva - 2156 Removals and replacements - Identifying parts of the system unit
Applicable to: China, Hong Kong, Japan, Taiwan, Canada, United States
This computer system has 3 bays, each bay has an factory-installed drive in it. The devices are 3.5" Diskette, 32X CD-ROM drive and 3.2GB or 4.2GB hard disk drive.
Diskette drives in this unit use the standard diskette advanced technology (AT) Interface. Hard disk and CD-ROM drives in this unit use an integrated drive Electronics (IDE) AT interface. This computer supports the American National Standard Institute (ANSI) standard for AT attachment disk drives and CD-ROMs.
This system has 2 interface card slots for adapter card expansion. One is the Peripheral Component Interconnect (PCI) interface, the other is the Industry Standard Architecture (ISA) / PCI shared slot. You are only allowed to insert one PCI or ISA adapter card into the PCI/ISA shared slot.
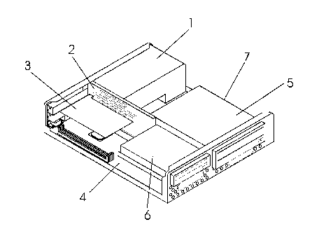
1. Power Supply
This is a 92.85-watt switching power supply.
2. IO slot
The riser card has 1 PCI and 1 PCI/ISA slot.
3. Modem card
This machine has a factory-installed Data/Fax card for data transmission
4. System board
5. CD-ROM Drive
This machine has a factory-installed 32X CD-ROM drive.
6. Floppy Diskette Drive
This machine has a factory-installed 3.5” 1.44MB Floppy drive.
7. Hard Disk Drive
This machine has a factory-installed 3.2GB or 4.2GB hard disk drive.
(Only the D1N and D1J models have 3.2GB hard disk drive, the other models have 4.2 GB hard drive)
|
Search Keywords |
| |
|
Document Category |
Hardware Installation/Configuration | |
|
Date Created |
28-10-98 | |
|
Last Updated |
19-02-99 | |
|
Revision Date |
18-02-2000 | |
|
Brand |
IBM Aptiva | |
|
Product Family |
Aptiva | |
|
Machine Type |
2156 | |
|
Model |
all | |
|
TypeModel |
| |
|
Retain Tip (if applicable) |
| |
|
Reverse Doclinks |