|
72.080 bytes |
Parts Information |
Document ID: GSMH-3ETEWK |
TP 560/E - FRU LCD (TFT) listing
Applicable to: World-Wide
LCD FRU (TFT):
TFT 1 (12J1600)

|
Index |
System Unit |
FRU # |
|
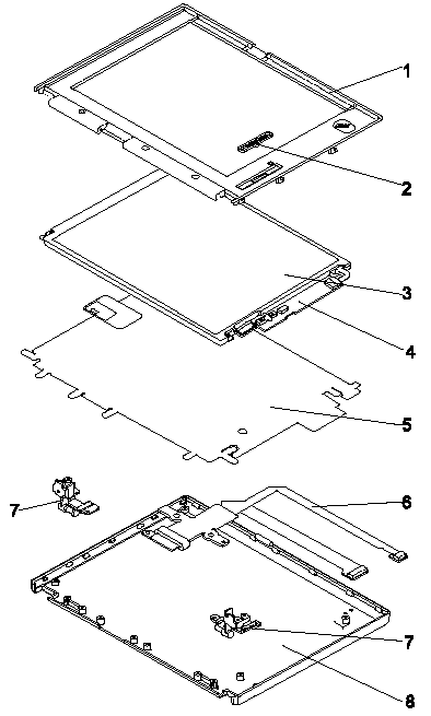
1 |
LCD Front Cover |
05K4603 |
|
2 |
Control Knob |
11J9664 |
|
3 |
LCD Panel (see LCD Assembly) |
N/A |
|
4 |
Inverter Card |
82H5509 |
|
5 |
Shield Card |
46H4165 |
|
6 |
LCD Cable |
12J1601 |
|
7 |
Hinges |
11J9663 |
|
8 |
LCD Rear Cover |
11J9646 |
TFT 2 (11J9626)
|
Index |
System Unit |
FRU # |
|
1 |
LCD Front Cover |
11J9627 |
|
2 |
Control Knob |
46H4224 |
|
3 |
LCD Panel (see LCD Assembly) |
N/A |
|
4 |
Inverter Card |
11J9632 |
|
5 |
Shield Sheet |
46H4165 |
|
6 |
LCD Cable |
11J9629 |
|
7 |
Hinges |
11J9628 |
|
8 |
LCD Rear Cover |
11J9646 |
|
Search Keywords |
| |
|
Document Category |
Service Parts | |
|
Date Created |
03-03-97 | |
|
Last Updated |
04-03-99 | |
|
Revision Date |
17-08-99 | |
|
Brand |
IBM ThinkPad | |
|
Product Family |
ThinkPad 560, ThinkPad 560E | |
|
Machine Type |
2640 | |
|
Model |
Various | |
|
TypeModel |
| |
|
Retain Tip (if applicable) |
| |
|
Reverse Doclinks |