|
79.031 bytes |
Service Hints & Tips |
Document ID: RJJR-3PCLH5 |
TP 770 - 1110 Upper shield removal
Applicable to: World-Wide
The following information is intended for IBM Dealers and Authorized Servicers only. Customers attempting to follow any of the procedures below may void their warranty.
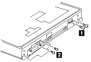
1110 Upper Shield
Battery Pack (1010)
UltraBay II Device or Second Battery Pack (1020)
Keyboard Assembly (1060)
Center Cover and Hinge Cap (1070)
Power Switch and Bay Eject Lever (1080)
LCD Unit (1090)
Standby Battery (1100)
When you reinstall the upper shield, make sure you thread the cable as shown above. Do not thread it in front of the bay opening.

|
Search Keywords |
| |
|
Hint Category |
Hardware Maintenance Information | |
|
Date Created |
01-12-97 | |
|
Last Updated |
19-01-99 | |
|
Revision Date |
19-01-2000 | |
|
Brand |
IBM ThinkPad | |
|
Product Family |
ThinkPad 770, ThinkPad 770E/ED, ThinkPad 770X | |
|
Machine Type |
9548, 9549, 9544 | |
|
Model |
various | |
|
TypeModel |
| |
|
Retain Tip (if applicable) |
| |
|
Reverse Doclinks |