|
46.636 bytes |
Service Hints & Tips |
Document ID: GKEY-3H4GYD |
PCServer704 - Diagrams (SCSI Drive)
Applicable to: World-Wide
Drive (SCSI-2)
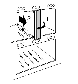
SCSI Drive Status LED Board
|
1. |
J1, cable to SCSI backplane |
|
2. |
Hole for standoff |
|
3. |
Status LEDs (three sets of three); insert board so these appear in slots in front EMI panel |
|
4. |
End facing slot in center divider |
|
1. |
Status LED board (one board over each row of SCSI drives) |
|
2. |
Cable form J1 on status LED board to J2 or J9 on SCSI backplane (one for each board) |
|
3. |
SCSI backplanes, upper and lower |
|
Search Keywords |
| |
|
Hint Category |
Hardware Maintenance Information, SCSI | |
|
Date Created |
15-05-97 | |
|
Last Updated |
28-05-98 | |
|
Revision Date |
27-05-99 | |
|
Brand |
IBM PC Server | |
|
Product Family |
PC Server 704 | |
|
Machine Type |
8650 | |
|
Model |
Various | |
|
TypeModel |
| |
|
Retain Tip (if applicable) |
| |
|
Reverse Doclinks |