|
17.175 bytes |
Service Hints & Tips |
Document ID: GSMH-3BNHK4 |
TP 701C/CS - Power System Checkout
Applicable to: World-Wide
Power Systems Checkout:
To verify the symptom of the problem, power-on the computer using each of the power sources available as follows:
1. Remove the battery.
2. Connect the AC adapter and check that power is supplied by pressing the power switch.
3. Disconnect the AC adapter and install the charged battery; then, check that power is supplied from the battery by pressing the power switch.
Note:
The battery is charged only while the computer is powered-on (the computer can be in the suspend mode). The battery cannot be charged if the computer is powered-off.
If you suspect a power problem, see the appropriate power-supply check listed below:
- ¿Checking the AC Adapter—.
- ¿Checking the Battery Pack.—
- ¿Checking the Standby Battery.—
Checking the AC Adapter:
Check the AC adapter if the computer fails only when the AC adapter is used, or if the battery does not charge when the AC adapter is attached and the computer is on or in suspense mode.
- If the power problem occurs only when the Multiport II is used, replace the Multiport II.
- If the power-on indicator does not turn on, check the AC adapter for correct continuity
and installation. If the connection is suspect, replace the AC adapter.
If the operational charge does not work, go to ¿Power Related Symptoms—.
Note:
Several types of âs can be supplied with the TP701C/CS. The procedure for checking them is the same.
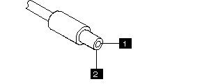
1. Unplug the AC adapter cable from the computer and measure the output voltage at the plug of the AC adapter cable. See the following figure.
|
Pin |
Voltage (V dc) |
|
1 |
+ 15.5 to+ 17.0 |
|
2 |
Ground |
2. If the voltage is not correct, replace the AC adapter.
Note:
In rare cases, the problem may be in the AC adapter even when the voltage is correct. If an AC adapter is available, try replacing the computer AC adapter.
3. If the voltage is correct, replace the top system board. If this does not correct the problem, go to ¿Undetermined Problems—.
Note:
An audible noise from the AC adapter does not always indicate a defective adapter.
Checking the Battery Pack:
Perform the following steps to check the battery:
Safety Notice 7:
Though main batteries have low voltage, a shorted or grounded battery can produce enough current to burn combustible materials or personnel.
1. Remove the battery.
Note:
To remove the battery, end external communications if you are not using an AC adapter Power-off the computer and then close the lid. Unlock the battery. compartment door located on the bottom of the compartment.. Slide the battery out of the compartment.
2. Measure the voltage between battery terminals1(+) and4(- ). See the following figure.
|
Terminal |
Voltage (V dc) / Signal |
|
1 |
11.0 (nominal) (Range+ 10.0 to+ 16.0) |
|
2 |
VCC |
|
3 |
I/O |
|
4 |
Ground |
Note:
The signal lines not used in these steps, terminals 2 and 3, are used for communication between the system and the battery.
3. If the voltage is less than+ 10.0V dc, the &bp. has been discharged or is defective. Recharge the battery.
If the voltage is still less than+ 10.0 V dc after the recharging, replace the battery.
Checking the Standby Battery:
Before performing the following steps, make sure that the standby battery. is fully charged by leaving the computer plugged into ac power while on or in suspend mode for 24 hours. The computer can be used normally while the standby battery is charging. If any problem is not corrected after charging the standby battery, perform the following steps.
1. Power-off the computer. and unplug the AC adapter from the computer..
2. Remove the battery.
3. Remove the top system board.
4. Replace the standby battery. from the bottom of the top system board.
5. Reinstall the top system board.
6. Plug the computer. into ac power, power-on the computer, and let the standby battery charge for 24 hours.
7. To verify standby battery operation, remove and reinstall the battery. while the computer. is in the suspend mode.
Note:
For this test to be valid, the battery should reinstalled within 1 minute. The resume operation should start.
8. If the resume operation does not work, replace the top system board.
|
Search Keywords |
| |
|
Hint Category |
Hardware Maintenance Information | |
|
Date Created |
22-11-96 | |
|
Last Updated |
19-08-98 | |
|
Revision Date |
18-08-99 | |
|
Brand |
IBM ThinkPad | |
|
Product Family |
ThinkPad 701 | |
|
Machine Type |
2630 | |
|
Model |
Various | |
|
TypeModel |
| |
|
Retain Tip (if applicable) |
N/A | |
|
Reverse Doclinks |