62.570 bytes

Parts Information

Document ID: DDSE-469MAT

PC Server 310 - System Parts Listing

Applicable to: World-Wide

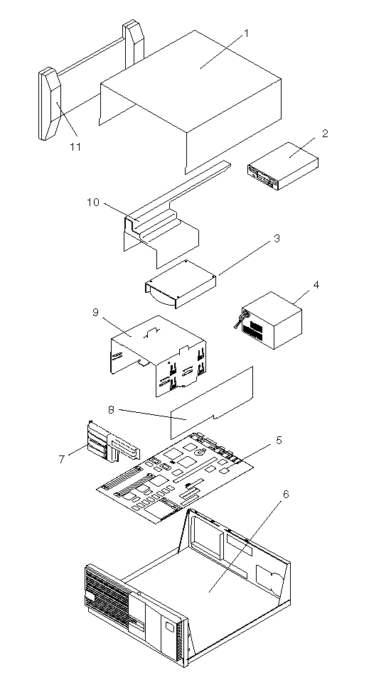
System Unit Index
PC Server 310 - Type 8639 ISA Models 0D0, 0DT, 0XT, 0Z0, 0ZT Micro Channel Models MDT, MXT, MZT

1.

Cover (Top) (Models 0D0, 0DT, 0Z0, 0ZT,0XT, MDT, MXT, MZT)

06H1771

2.

Diskette Drive,
see DASD
(PC Server 310 - Type 8639)

3.

Hard Disk Drive,
see DASD
(PC Server 310 - Type 8639)

4.

Power Supply Assembly (210W, 3.3V),
(Models 0D0, 0DT, 0Z0, 0ZT, 0XT, MDT, MXT, MZT)

06H2968

5.

System Board
see System Board
(PC Server 310 - Type 8639)

6.

Base Frame (Models 0D0, 0DT, 0Z0, 0ZT, 0XT, MDT, MXT, MZT)

06H9405

7.

Card Guide (Models 0D0, 0DT, 0XT, 0Z0, 0ZT)

06H1779

7.

Card Guide
(Models MDT, MXT, MZT)

06H1778

9.

DASD Tray (Removal) (Models 0D0, 0DT, 0Z0, 0ZT, 0XT, MDT, MXT, MZT)

06H1780

10.

DASD Tray (Non-Removal)
(Models 0D0, 0DT, 0Z0, 0ZT, 0XT, MDT, MXT, MZT)

06H1781

11.

Floor Stand Assembly (Models 0D0, 0DT, 0Z0, 0ZT, 0XT, MDT, MXT, MZT)

07H0516

5.25-Inch Blank Bezel (Models 0D0, 0DT, 0Z0, 0ZT, 0XT, MDT, MXT, MZT)

96G2484

Blank Bezels (Models MDT, MXT, MZT)

06H1784

Bottom Cover
Models 0D0, 0DT, 0Z0, 0ZT, 0XT, MDT, MXT, MZT)

06H1791

C2 Switch Assembly (Models 0D0, 0DT, 0Z0, 0ZT, 0XT, MDT, MXT, MZT)

06H1788

Cover Latch (Models 0D0, 0DT, 0Z0, 0ZT, 0XT, MDT, MXT, MZT)

06H1783

Door Assembly
Models 0D0, 0DT, 0Z0, 0ZT, 0XT, MDT, MXT, MZT)

96G2446

Door Hinge
Models 0D0, 0DT, 0Z0, 0ZT, 0XT, MDT, MXT, MZT)

96G2447

EMC Clip
(Models 0D0, 0DT, 0Z0, 0ZT, 0XT, MDT, MXT, MZT)

06H5734

EMC Shield
(Models 0D0, 0DT, 0Z0, 0ZT, 0XT, MDT, MXT, MZT)

06H1782

Fan Assembly
(Models 0D0, 0DT, 0Z0, 0ZT, 0XT, MDT, MXT, MZT)

06H1796

Front Bezel
(Models 0D0, 0DT, 0Z0, 0ZT, 0XT, MDT, MXT, MZT)

96G2445

Keyboard with Cable, see Keyboards (101/102 Key - RD)—
Enhanced Keyboards (101/102 Key - BS)—

Keylock with Keys
(Models 0D0, 0DT, 0Z0, 0ZT, 0XT, MDT, MXT, MZT)

33F8433

LED and Cable Power
(Models 0D0, 0DT, 0Z0, 0ZT, 0XT, MDT, MXT, MZT)

93F2389

Mouse
(Models 0D0, 0DT, 0Z0, 0ZT, 0XT, MDT, MXT, MZT)

06H4595

Power Button (Models 0D0, 0DT, 0Z0, 0ZT, 0XT, MDT, MXT, MZT)

06H1777

Power Switch with Cable
(Models 0D0, 0DT, 0Z0, 0ZT, 0XT, MDT, MXT, MZT)

60G2258

Rear I/O Panel Assembly
Models 0D0, 0DT, 0Z0, 0ZT, 0XT)

06H1786

Rear I/O Panel Assembly
(Models MDT, MZT, MXT)

06H1787

Rear Panel
(Models 0D0, 0DT, 0Z0, 0ZT, 0XT, MDT, MXT, MZT)

06H1785

Jumper Kit
(Models 0D0, 0DT, 0Z0, 0ZT, 0XT, MDT, MXT, MZ)

93F0067

Miscellaneous Mounting Screws (Models 0D0, 0DT, 0Z0, 0ZT, 0XT, MDT, MXT, MZT)

93F0041

Speaker
(Models 0D0, 0DT, 0Z0, 0ZT, 0XT, MDT, MXT, MZT)

92F0421

1MB Video DRAM (60ns)
(Models 0D0, 0DT, 0Z0, 0ZT, 0XT, MDT, MXT, MZT)

92G7432

256KB L2 Cache - 12ns
(Models 0D0, 0DT, 0Z0, 0ZT, MDT, MZT)

60H7416

256KB L2 Cache - 15ns
(Models 0XT, MXT)

06H6052

8MB Memory SIMM (Parity)
(Models 0D0, 0DT, 0Z0, 0ZT, 0XT, MDT, MXT, MZT)

92G7521

Battery,
(Models 0D0, 0DT, 0Z0, 0ZT, 0XT, MDT, MXT, MZT)

33F8354

Ethernet Card Assembly
(Models 0D0, 0DT, 0XT, 0Z0, 0ZT)

48G7170

Ethernet Card Assembly
(Models MDT, MXT, MZT)

48G7172

I/O Riser Card 5X5
(Models 0D0, 0DT, 0XT, 0Z0, 0ZT)

06H4008

I/O Riser Card 5X5
(Models MDT, MXT, MZT)

06H4023

Power Cord see "Power Cords".

SCSI PCI Card Assembly
(Models 0D0, 0DT, 0Z0, 0ZT, 0XT, MDT, MXT, MZT)

60H5715

5.

System Board without Memory and Processor (Model 0XT)

88G4270

5.

System Board without Memory
and Processor (Model MXT)

11H5545

P54C 50/75MHz Processor Chip
with Heat Sink
(Model 0XT, MXT)

06H5210

P54C 66/100 Chip with Heat Sink
(Models 0Z0, 0ZT MZT)

06H6063

P54C 66/133 Chip with Heat Sink
(Models 0D0, 0DT, MDT)

06H9891

5

System Board without Memory and Processor (Models 0D0, 0DT, 0Z0, 0ZT)

60H7198

5.

System Board without Memory and Processor
(Models MZT, MDT)

60H7197

1.44MB Diskette Drive
(Models 0D0, 0DT, 0Z0, 0ZT, 0XT, MDT, MXT, MZT)

93F2361

1GB Fast/Wide Hard Disk Drive
(Models 0D0, 0DT, 0Z0, 0ZT, 0XT, MDT, MXT, MZT)

06H9079

Diskette Drive Cable
(Models 0D0, 0DT, 0Z0, 0ZT, 0XT, MDT, MXT, MZT)

06H6325

Hard Disk Drive Cable
(Models 0D0, 0DT, 0Z0, 0ZT, 0XT, MDT, MXT, MZT)

06H6326

LED & Cable (Hard Disk Drive)
(Models 0D0, 0DT, 0Z0, 0ZT, 0XT, MDT, MXT, MZT)

93F2388

MKE CR-504 4X CD-ROM DR
(Models 0D0, 0DT, 0Z0, 0ZT, 0XT, MDT, MXT, MZT)

88G4921

SCSI Hard Disk Drive Cable (PCI-5X5)
(Models 0D0, 0DT, 0Z0, 0ZT, 0XT, MDT, MXT, MZT)

06H6062



Search Keywords

Document Category

Service Parts

Date Created

23-03-99

Last Updated

23-03-99

Revision Date

23-03-2000

Brand

IBM PC Server

Product Family

PC Server 310

Machine Type

8639

Model

TypeModel

Retain Tip (if applicable)

Reverse Doclinks
and Admin Purposes