|
571.945 bytes |
Service Hints & Tips |
Document ID: LWIK-3PGJFH |
TP 755CD/CDV - FRU Removals And Replacements
Applicable to: World-Wide
FRU Removals and Replacements:
This section contains information about removals and replacements.
An electrostatic discharge (ESD) strap must be used to establish personal grounding.
The system board is sensitive to, and can be damaged by, electrostatic discharge. Establish personal grounding by touching a ground point with one hand before touching these units.
The arrows in the "Removals and Replacements" section show the direction of movement to remove a FRU, or to turn a screw to release the FRU. The arrows are marked in numeric order, in square callouts, to show the correct sequence of removal.
When other FRUs must be removed before removing the failing FRU, they are listed at the top of the page. To replace a FRU, reverse the removal procedure and follow any notes that pertain to replacement. See "Locations" for internal cable connections and arrangement information. When replacing a FRU, use the correct screw size as shown in the procedures.
Safety Notice 8:
Before removing any FRU, power-off the computer, unplug all power cords from electrical outlets, remove the battery pack, and then disconnect any interconnecting cables.
Safety Notice 3:
The battery pack contains small amounts of nickel. Do not disassemble it, throw it into fire or water, or short-circuit it. Dispose of the battery pack as required by local ordinances or regulations.
Safety Notice 1:
Before the computer is powered-on after FRU replacement, make sure all screws, springs, or other small parts, are in place and are not left loose inside the computer. Verify this by shaking the computer and listening for rattling sounds. Metallic parts or metal flakes can cause electrical short circuits.
2010 Rear Connector Door:
Remove the center latch (1) ; then remove the rear connector door by flexing it (2).
2015 Foot:
To replace the foot:
Align the foot in the open position with one pivot in its hinge in the base cover Press the other pivot point into position with your thumb or finger
2020 Battery Pack:
CD-ROM Drive (2030)
Notes:
1. Be careful that the computer does not fall backward when the battery pack is removed.
2. When replacing the battery pack, check that the storage switch of the new battery is set to the on (|) position. Do not operate the storage switch of a battery that has been used and is going to be re-used.
3. Check that the keyboard latch springs are in place.
2030 CD-ROM/Diskette Drive:
Note:
Remove the CD-ROM/Diskette drive exactly as shown in the figure. Do not apply any extra force to the CD-ROM/Diskette drive when removing it.
Warning:
When replacing the CD-ROM/diskette drive, check that the standby battery is seated correctly to prevent damage to the drive.
2040 Hard Disk Drive:
CD-ROM Drive (2030)
Battery Pack (2020)
Warning:
Do not drop or apply any shock to the hard disk drive. The hard disk drive is sensitive to physical shock. Incorrect handling can cause damage it, and cause permanent loss of data on the hard disk. Before removing the hard disk drive, have the user make a backup copy of all the information on the hard disk. Never remove the hard disk drive while the system is operating or is in suspend mode.
Note:
Remove the hard disk drive exactly as shown in the figure. Do not apply any extra force to the hard disk drive when removing it.
Warning:
After replacing the hard disk drive, latch the removal strap into the correct position.
2050 IC DRAM Card or DIMM Adapter:
CD-ROM Drive (2030)
Battery Pack (2020)
Note:
One of the following combinations occupies the slot depending on the configuration.
IC DRAM card+ IC DRAM card base
DIMMs on DIMM adapter
If the IC DRAM Card is installed:
Warning:
The IC DRAM card is sensitive to physical shock. Incorrect handling of the card can damage it. The eject tape (P/N 53G9318) must be used to remove the card.
If the DIMM Adapter is installed:
Press both locks at the same time and remove the DIMM.
While holding the strap (A) , pull the DIMM adapter toward the front to remove it.
Notes:
1. If the IC DRAM cards or the DIMM are not installed and the base plate is installed instead of these cards, remove the plate as follows:
a. Pinch the projection"A" on the left side of the plate; then pull the plate slightly toward the front.
b. Raise the rear portion of the plate and remove it.

2. When inserting the DIMM into either connector on the DIMM adapter:
a. Locate the triangle "A" on the right side of the socket.
b. With the notched end of the DIMM "B" toward the triangle, insert the DIMM into the socket.
c. Pivot the DIMM until it snaps into place.
If you have another DIMM to install, insert it in the other socket the same way.
2060 Keyboard Spacer:
2080 Keyboard Unit:
CD-ROM Drive (2030)
Battery Pack (2020)
Loosen the three screws 2 and 3 , and push 4 to release the five top cover latches at the rear side of the system unit.
When removing the screw covers 1 , use a small screwdriver.
The keyboard unit is connected to the system board with flexible cables. Remove the upper cover; then disconnect the cables to remove the keyboard unit as shown.
To remove the top cover, do not latch the keyboard. Lower the keyboard and remove the top cover.
Warning:
Do not pull the keyboard cables. The keyboard cables will be damaged if the keyboard is disconnected without releasing the three latches 7.
Notes:
1. When replacing the keyboard, check that the three cables are clean, and inserted straight and fully into the connectors. Slide both ends of each latch at the same time to make sure that each cable is correctly inserted. Go to "Keyboard/Auxiliary Input Device Checkout" and test all keys before returning the computer to the customer.
2. When replacing the top cover, insert the four latches at the rear side of the cover into the foot guide of the the LCD; push the right, left, and front sides to snap it into place.
Use the following table for reference when replacing parts.
|
Step |
Location (Quantity) |
Length |
|
2 |
Top cover (1) |
14 mm |
|
3 |
Top cover (2) |
4 mm |
|
6 |
Top cover (1) |
4 mm |
Note:
Make sure you use the correct screw.
2090 Status Indicator:
CD-ROM Drive (2030)
Battery Pack (2020)
Keyboard Unit (2080)
Warning:
Do not pull the status indicator cable. The cable will be damaged if the status indicator is disconnected without releasing the latch in step 2.
Note:
When replacing the indicator, insert the flexible cable straight into the connector until the head of the cable stops. Slide both ends of the latches at the same time to make sure that the cable is correctly inserted.
Use the following table for reference when replacing parts.
|
Step |
Location (Quantity) |
Length |
|
1 |
LED Stand off (2) |
14 mm |
Note:
Make sure you use the correct screw.
2100 Standby Battery and Front IR:
CD-ROM Drive (2030)
Battery Pack (2020)
Where:
A is the IR Cable.
B is the Standby Battery Cable.
C is the IR Lens.
Note:
When replacing the battery, make sure the battery are seated correctly. Make sure the IR lens (2) is in the correct position by sliding it end to end.
|
Step |
Location (Quantity) |
Length |
|
1 |
cover (1) |
4 mm |
Note:
Make sure you use the correct screw.
Safety Notice 2:
The standby battery contains a small amount of nickel and cadmium. Do not disassemble it, recharge it, throw it into fire or water, or short-circuit it. Dispose of the battery as required by local ordinances or regulations.
2110 Backup Battery:
CD-ROM Drive (2030)
Battery Pack (2020)
Safety Notice 4:
The backup battery is a lithium battery and can cause a fire, explosion, or severe burn. Do not recharge it, remove its polarized connector, disassemble it, heat it above 100C (212F), incinerate it, or expose its cell contents to water. Dispose of the battery as required by local ordinances or regulations. Use of an incorrect battery can result in ignition or explosion of the battery. Replacement batteries can be ordered from IBM or IBM Authorized Dealers.
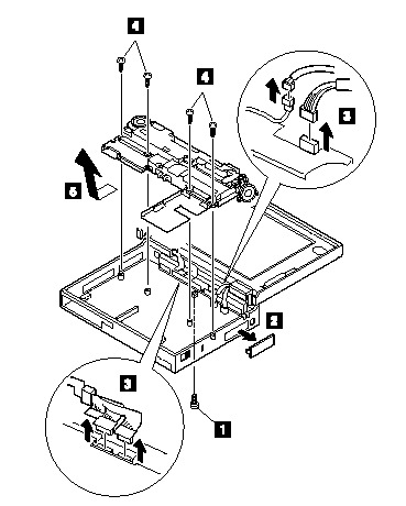
2115 Logic Assembly:
CD-ROM Drive (2030)
Battery Pack (2020)
Hard Disk Drive (2040)
Keyboard Unit (2080)
Status Indicator (2090)
Standby Battery and Front IR (2100)
Backup Battery (2110)
The screw 1 is located at the rear bottom side.
See next page.
Note:
When replacing the logic assembly, align the power-key slide hub with the power-switch actuator by moving the power-key in the direction of the arrow. See the large circle in the figure. Before tightening any screws, check that the power-switch operates correctly.
|
Step |
Location (Quantity) |
Length |
|
1 |
Logic assembly (1) |
4 mm |
|
4 |
Logic assembly (4) |
8 mm |
Note:
Make sure you use the correct screw.
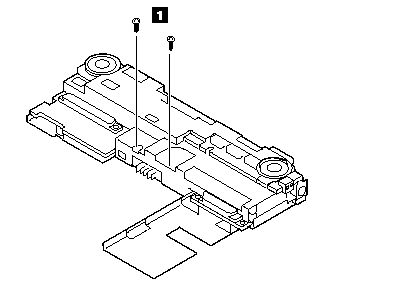
2120 Shield Assembly:
CD-ROM Drive (2030)
Battery Pack (2020)
Hard Disk Drive (2040)
Keyboard Unit (2080)
Status Indicator (2090)
Standby Battery and Front IR (2100)
Backup Battery (2110)
Logic Assembly (2115)
|
Step |
Location (Quantity) |
Length |
|
1 |
Shield assembly (3) |
4 mm |
|
2 |
Shield assembly (3) |
14 mm |
|
3 |
Shield assembly (1) |
8 mm |
Note:
Make sure you use the correct screw.
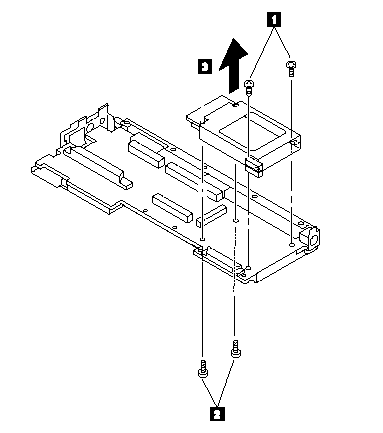
2125 Video Card or Rear IR:
CD-ROM Drive (2030)
Battery Pack (2020)
Hard Disk Drive (2040)
Keyboard Unit (2080)
Status Indicator (2090)
Backup Battery (2110)
Standby Battery and Front IR (2100)
Logic Assembly (2115)
Shield Assembly (2120)
The connector is located under A.
Do 4 and 5 after step 3 to remove the rear IR.
2130 DC/DC Card:
CD-ROM Drive (2030)
Battery Pack (2020)
Hard Disk Drive (2040)
Keyboard Unit (2080)
Status Indicator (2090)
Backup Battery (2110)
Standby Battery and Front IR (2100)
Logic Assembly (2115)
Shield Assembly (2120)
Video Card or Rear IR (2125)
2140 DSP Card:
CD-ROM Drive (2030)
Battery Pack (2020)
Hard Disk Drive (2040)
Keyboard Unit (2080)
Status Indicator (2090)
Backup Battery (2110)
Standby Battery and Front IR (2100)
Logic Assembly (2115)
Shield Assembly (2120)
Video Card or Rear IR (2125)
DC-DC Card (2130)
Remove the following:
Mini-Jack Holder
Modem Guide
Modem Lever
Microphone Cable
Use the following table for reference when replacing parts.
|
Step |
Location (Quantity) |
Length |
|
1 |
DSP card (1) |
8 mm |
|
2 |
DSP card (1) |
14 mm |
Note:
Make sure you use the correct screw.
2150 Interposer Card:
CD-ROM Drive (2030)
Battery Pack (2020)
Hard Disk Drive (2040)
Keyboard Unit (2080)
Status Indicator (2090)
Backup Battery (2110)
Standby Battery and Front IR (2100)
Logic Assembly (2115)
Shield Assembly (2120)
Video Card or Rear IR (2125)
DC-DC Card (2130)
DSP Card (2140)
2160 System Board Assembly:
CD-ROM Drive (2030)
Battery Pack (2020)
Hard Disk Drive (2040)
Keyboard Unit (2080)
Status Indicator (2090)
Backup Battery (2110)
Standby Battery and Front IR (2100)
Logic Assembly (2115)
Shield Assembly (2120)
Video Card or Rear IR (2125)
DC/DC Card (2130)
DSP Card (2140)
Interposer Card (2150)
Processor Card (2180)
Notes:
1. Before removing and replacing the system board, make sure that the PCMCIA cards are removed and the eject levers are not sticking out.
2. When replacing the system board assembly, align the power-key slide hub with the power-switch actuator by moving the power-key in the direction of the arrow. See the large circle in the figure. Before tightening any screws, check that the power-switch operates correctly.
3. Do not pull the PCMCIA slot assembly while removing the system board.
2170 PCMCIA Slot Assembly:
CD-ROM Drive (2030)
Battery Pack (2020)
Hard Disk Drive (2040)
Keyboard Unit (2080)
Status Indicator (2090)
Backup Battery (2110)
Standby Battery and Front IR (2100)
Logic Assembly (2115)
Shield Assembly (2120)
Video Card or Rear IR (2125)
DC/DC Card (2130)
DSP Card (2140)
Interposer Card (2150)
Processor Card (2180)
Notes:
1. When handling the PCMCIA slot assembly, be careful not to disassemble any part of it. The slot assembly is not solidly fixed when it is removed from the system board or the FRU. In step 3 , gently pull up the bottom of the center area of the connector board edge with your fingers.
2. The screw stand at each corner of the PCMCIA slot is easy to remove. Make sure that the screw stand is correctly positioned when the slot is replaced. Do not replace the slot without the screw stand.
Use the following table for reference when replacing parts.
|
Step |
Location (Quantity) |
Length |
|
1 |
PCMCIA slot, upper (2) |
4 mm |
|
2 |
PCMCIA slot, lower (2) |
14 mm |
Note:
Make sure you use the correct screw.
2180 Processor Card:
CD-ROM Drive (2030)
Battery Pack (2020)
Hard Disk Drive (2040)
Keyboard Unit (2080)
Status Indicator (2090)
Backup Battery (2110)
Standby Battery and Front IR (2100)
Logic Assembly (2115)
Turn the system board upside down. Then remove any metal tape holding the card.
To remove the processor card, gently lift the area shown by (A) straight up. Do not pull the other areas.
Note:
If the processor card is not installed correctly, the computer may not turn on. Reinstall the card in this case.
Use the following table for reference when replacing parts.
|
Step |
Location (Quantity) |
Length |
|
1 |
Processor card assembly |
14 mm |
Note:
Make sure you use the correct screw.
2190 LCD Assembly:
CD-ROM Drive (2030)
Battery Pack (2020)
Keyboard Unit (2080)
Status Indicator (2090)
Note:
When removing the LCD cablesÌ1Ï , pull the connector straight up. Incorrect handling can damage the connector.
Use the following table for reference when replacing parts.
|
Step |
Location (Quantity) |
Length |
|
3 |
LCD hinge (4) |
4 mm |
Note:
Make sure you use the correct screw.
Safety Notice 5:
If the LCD breaks and the fluid from inside the LCD gets into your eyes or on your hands, immediately wash the affected areas with water for at least 15 minutes. Seek medical care if any symptoms from the fluid are present after washing.
To Clean the LCD:
Gently wipe the LCD with a dry, soft cloth. Do not use alcohol or detergent to clean the LCD.
To avoid damaging the LCD, do not scratch or apply any force to its surface.
2195 LCD Rear Cover (755CDV only):
Slightly push out and release the latches 1 .
Note:
Do not touch the film 2 on the rear cover while the cover is removed from the LCD.
2200 Lower Shield Assembly:
CD-ROM Drive (2030)
Battery Pack (2020)
Hard Disk Drive (2040)
Keyboard Unit (2080)
Status Indicator (2090)
Backup Battery (2110)
Standby Battery and Front IR (2100)
Logic Assembly (2115)
Shield Assembly (2120)
Video Card or Rear IR (2125)
DC/DC Card (2130)
DSP Card (2140)
Interposer Card (2150)
Processor Card (2180)
System Board Assembly (2160)
2210 Memory Card:
CD-ROM Drive (2030)
Battery Pack (2020)
Hard Disk Drive (2040)
Keyboard Unit (2080)
Status Indicator (2090)
Backup Battery (2110)
Standby Battery and Front IR (2100)
Logic Assembly (2115)
Shield Assembly (2120)
Video Card or Rear IR (2125)
DC/DC Card (2130)
DSP Card (2140)
Interposer Card (2150)
Processor Card (2180)
System Board Assembly (2160)
Lower Shield Assembly (2200)
Note:
If the computer does not complete POST after changing the memory card, reseat the card and try again.
|
Search Keywords |
| |
|
Hint Category |
Hardware Maintenance Information | |
|
Date Created |
05-12-97 | |
|
Last Updated |
19-08-98 | |
|
Revision Date |
18-08-99 | |
|
Brand |
IBM ThinkPad | |
|
Product Family |
ThinkPad 755CD, ThinkPad 755CDV | |
|
Machine Type |
9545 | |
|
Model |
Various | |
|
TypeModel |
| |
|
Retain Tip (if applicable) |
| |
|
Reverse Doclinks |