|
517.279 bytes |
Service Hints & Tips |
Document ID: GSMH-3BCKRY |
|
This document is provided to IBM and our Business Partners to help sell and/or service IBM products. It is not to be distributed beyond that audience or used for any other purpose. |
TP 370,750,755C/CS - FRU Removals And Replacements
Applicable to: World-Wide
FRU Removals and Replacements:
This section contains information about removals and replacements.
The system board is sensitive to, and can be damaged by, electrostatic discharge. Establish personal grounding by touching a ground point with one hand before touching these units.
An electrostatic discharge (ESD) strap must be used to establish personal grounding.
Do not damage any part. Only certified trained personnel should service the computer.
The arrows in the "Removals and Replacements" section show the direction of the movement to remove a FRU, or to turn a screw to release a FRU. The arrows are marked in numeric order, in square call outs, to show the correct sequence of removal. When others FRUs must be removed before removing the failing FRU, they are listed at the top of the page. To replace a FRU, reverse the removal procedure and follow any notes that pertain to replacement.
See "Locations " for internal cable connections and arrangement information.
When replacing a FRU, use the correct screw size as shown in the procedures.
Safety Notice 8:
Before removing a FRU, power-off the computer, unplug all power cords from electrical outlets, remove the battery pack, and then disconnect any interconnecting cables.
Safety Notice 3:
The battery pack contains small amounts of nickel. Do not disassemble it, throw into fire or water, or short-circuit it. Dispose of the battery pack as required by local ordinances or regulations.
Safety Notice 1:
Before the computer is powered-on after FRU replacement, make sure all screws, springs, or other small parts, are in place and are not left loose inside the computer. Verify this by shaking the computer and listening for rattling sounds. Metallic parts or metal flashes can cause electrical shorts.
Removals Models 370C, 750X, 750C, 755Cs:
2010 Rear Connector Door
Remove the center latch 1; then remove the rear connector door by flexing it 2.
2015 Foot
To replace the foot:
Align the foot in the open position with one pivot in its hinge in the base cover.
Press the other pivot point into position with your thumb or finger.
2020 Battery Pack
Notes:
1. Be careful that the computer does not fall backward when the battery pack is removed.
2. When replacing the battery pack, check that the storage switch of the new battery is set to the on (1) position. Do not operate the storage switch of a battery that has been used and is going to be re-used.
3. Check that the keyboard latch springs are in place.
2030 Diskette Drive:
Battery Pack (2020)
Warning:
1. Check that the backup battery and standby battery are seated correctly to prevent damage to the diskette drive when replacing the diskette drive.
2. Do not put any pressure on the diskette drive cover. Remove the diskette drive exactly as shown in the figure.
3. Make sure that a diskette is not installed in the drive. Removing the drive with as diskette installed causes bending or damaging the eject button.
After replacing the diskette drive, latch the removal strap into the correct position.
2035 Hard Disk Drive
Battery Pack(2020)
Warning:
1. Do not apply any extra force to the hard disk drive when removing it. Remove the hard disk drive exactly as shown in the figure.
2. Do not drop or apply any shock to the hard disk drive. The hard disk drive is sensitive to physical shock. Incorrect handling can cause damage it, and cause permanent loss of data on the hard disk. Before removing the hard disk drive, have the user make a backup copy of all the information on the hard disk. Never remove the hard disk drive while the system is operating or is in suspend mode.
After replacing the hard disk drive, latch the removal strap into the correct position.
2040 Keyboard Unit
Battery pack (2020)
1. When removing the screw covers, use a small screwdriver as shown.
2. Warning:
When using a screwdriver to remove cover or latches, be careful not to:
Scratch the surface of the computer. Break the latches.
3. Open the keyboard.
4. Remove the leaf-spring plate/.
5. When unlatching the upper cover latches to remove the upper cover, use a small screwdriver as shown.
6. Remove the upper cover.
Note:
To remove the upper cover, do not latch the keyboard. Lower the keyboard and remove the upper cover.
7. Disconnect the cables to remove the keyboard unit as shown.
Warning:
Do not pull the keyboard cables. The keyboard cables can be damaged if the keyboard is disconnected without releasing the three latches.
8. Remove the keyboard.
Use the following table for reference when replacing parts.
|
Step |
Location(Quantity) |
Length |
|
2 |
Upper cover (2) |
8 mm |
Note:
Make sure you use the correct screw.
Notes for when replacing:
1. When replacing the keyboard, check that the three cables are clean, and inserted straight and fully into the connectors. Slide both ends of each latch at the same time to make sure that each cable is correctly inserted. Go to "Keyboard/Auxiliary Input Device Checkout" and test all keys before returning the computer to the customer.
2. When replacing the upper cover, insert the two latches located rear side of the cover into the guide of the foot of the LCD; push the right, left, and front sides to snap into place. Be careful not to damage the suspend/resume switch when putting on the cover.
2050 IC DRAM Card
Battery Pack(2020)
Diskette Drive(2030)
For models 370C, 755C and 755Cs, one of two types of memory card can be used, IC DRAM card or DIMM card.
Warning:
The IC DRAM card is sensitive to physical damage. Incorrect handling of the card can damage it. The eject tape (P/N 53G9318) must be used to remove the card.
Note:
For Models 370C, 755C and 755Cs, one of the following combinations occupies the slot depending on the configuration.
IC DRAM card + IC DRAM card base
DIMMs on DIMM adapter
2055 DIMM and DIMM Adapter (755C, 755Cs)
Battery Pack (2020)
Diskette Drive (2030)
Press both locks at the same time and remove the DIMM.
While holding the strap 1, pull the DIMM adapter toward the front 2 to remove it.
Notes:
1. If the IC DRAM cards or the DIMM are not installed and the base plate is installed instead of these card, remove the plate as follows:
a. Pinch the projection 1 on the left side of the plate; then pull the plate slightly toward the front 2.
b. Raise the rear portion of the plate 3 and remove it.
2. When inserting the DIMM into either connector on the DIMM adapter:
a. Locate the triangle 2 on the right side of the socket.
b. With the notched end of the DIMM 1 forward the triangle, insert the DIMM into the socket.
c. Pivot the DIMM until it snaps into place.
If you have another DIMM to install, insert it in the other socket the same way.
2056 Diskette Drive Bezel
Battery Pack (2020)
Diskette Drive(2030)
Insert a coin between the diskette drive bezel and the computer as shown 1 and push the bezel from the bottom of the computer 2 to remove it.
2060 Status Indicator:
Battery Pack (2020)
Keyboard Unit(2040)
Warning:
Do not pull the status indicator cable. The cable will be damaged if the status indicator is disconnected without releasing the latch in step 2.
The status indicator has three latches on its rear and two in its front in step 3, do as follows:
1. Release the rear latches with pushing each one with your thumb, as shown in the artwork. (The broken circles in the figure show the locations of the three latches.)
2. Release the front latches.
3. Lift the indicator.
Note:
When replacing the indicator, insert the flexible cable straight into the connector until the head of the cable stops. Slide both ends of the latches at the same time to make sure that the cable is correctly inserted.
Use the following table for reference when replacing parts.
|
Step |
Location (Quality) |
Length |
|
1 |
Indicator bracket (2) |
4 mm |
Note;
Make sure you use the correct screw.
2070 LCD Assembly
Battery Pack(2020)
Keyboard Unit(2040)
Status Indicator
Important:
Two types of LCDs are available for the Model 755C: one with a contrast control and one without. Make sure that you replace the LCD with the correct type. The LCD for the Model 370C does not have a contrast control.
1. When replacing the LCD ground-terminal screw, do not pull or push the LCD cables.
2. When removing the LCD, pull the connector straight up. Incorrect handling can damage the connector.
Note:
For the color models, make sure the indicator does not catch the right LCD connector when replacing the status indicator.
3. Remove the screw.
4. Remove the right hinge cover.
5. When removing the left hinge cover, use a small screwdriver as shown to release the latch from the rear base cover. Pull the hinge cover slightly upward to keep it unlatched.
6. From the front side, remove the latch with a small screwdriver as shown to remove the cover. Be careful not to scratch the surface of the computer when you use a screwdriver to remove the latches.
7. Remove the four screws.
Use the following table for reference when replacing parts.
|
Step |
Location(Quantity) |
Length |
|
1 |
LCD ground-terminal (1) |
4 mm |
|
3 |
LCD hinge cover, right(1) |
4 mm |
|
7 |
LCD hinge (4) |
4 mm |
Note:
Make sure you use the correct screw.
Safety Notice 5:
If the LCD breaks and the fluid from inside the LCD gets into your eyes or on your hands, immediately wash the affected areas with water for at least 15 minutes. Seek medical attention if any symptoms from the fluid are present after washing.
Caring For The LCD:
When cleaning of the LCD becomes necessary, gently wipe the LCD with a dry, soft cloth. Do not use alcohol or detergent to clean the LCD, do not scratch or apply any force to its surface. Do not put anything on the surface of the LCD.
2080 Speaker Shield Assembly
Battery Pack(2020)
Diskette Drive(2030)
Hard Disk Drive(2035)
Keyboard Unit(2040)
Status Indicator(2060)
LCD Assembly(2070)
Models 750x, 755C, and 755Cs
Important:
1. Carefully remove any metal particles that might have flaked off.
2. The shaded part in the figure is attached to the speaker shield assembly with light adhesive. This FRU is a separate FRU from the speaker shield assembly.
1. Remove the screws.
2. Gently raise the speaker shield assembly to avoid damaging the speaker cable and make sure that the shield assembly does not hook the three flexible cables of the keyboard.
3. Disconnect the speaker connector.
When Disconnecting The Connector:
Do not pull the speaker cable before the audio card is removed. Be careful not to damage the speaker with screwdrivers, screws, or other objects. A scratch will damage the speaker. When replacing the speaker shield, insert it under the projection at the left, rear corner of the computer base.
Use the following table for reference when replacing parts.
|
Step |
Location(Quantity) |
Length |
|
1a |
Speaker shield (4) |
4 mm |
|
1b |
Hard disk drive (2) |
6 mm |
|
1c |
System board(1) |
16 mm |
|
1d |
System board, spacer (1) |
16 mm |
|
1e |
Diskette drive connector (2) |
6 mm |
Note:
Make sure you use the correct screw.
2085 Audio Card
Note;
Refer to "Product Overview" to see whether the audio card is standard or not.
Battery Pack(2020)
Diskette Drive(2030)
Hard Disk Drive(2035)
Keyboard Unit(2040)
Staus Indicator(2060)
LCD Assembly(2070)
Speaker Shield Assembly(2080)
2090 Interposer Card:
Battery Pack(2020)
Diskette Drive(2030)
Hard Disk Drive(2035)
Keyboard Unit(2040)
Status Indicator(2060)
LCD Assembly(2070)
Speaker Shield Assembly(2080)
Audio Card(2085)
2100 DC/DC Card:
Battery Pack(2020)
Diskette Drive(2030)
Hard Disk Drive(2035)
Keyboard Unit(2040)
Staus Indicator(2060)
LCD Assembly(2070)
Speaker Shield Assembly(2080)
Audio Card(2085)
Interposer Card(2090)
Notes:
1. When replacing the DC/DC card, put the spacer 5 on the screw hole.
2. DC -in holder A and spacer 5 are supplied as miscellaneous parts.
Use the following table for reference when replacing parts.
|
Step |
Location(Quantity) |
Length |
|
3 |
Power jack (1) |
8 mm |
Note:
Make sure you use the correct screw.
2110 Backup Battery
2105 Standby Battery
Battery Pack(2020)
Diskette Drive(2030)
Model 750X
2. Standby Battery
3. Backup Battery
Models 370C, 755C, and 755Cs
3. Standby Battery
4. Backup Battery
Note:
When replacing the batteries, make sure the batteries are seated correctly. Make sure the insulator cover 1 is in the correct position by sliding it end to end.
|
Step |
Location(Quantity) |
Length |
|
1 |
cover (1) |
4 mm |
Note:
Make sure you use the correct screw.
Safety Notice 2:
The standby battery contains a small amount of nickel and cadmium. Do not disassemble it, recharge it, throw it into fire or water, or short-circuit it. Dispose of the battery as required by local ordinances or regulations.
Safety Notice 4:
The backup battery is a lithium battery and can cause a fire, explosion, or severe burn. Do not recharge it, remove its polarized connector, disassemble it, heat it above 100C (212F), incinerate it, or expose its cell contents to water. Dispose of the battery as required by local ordinances or regulations. Use of an incorrect battery can result in ignition or explosion of the battery. Replacement batteries can be ordered from IBM or IBM Authorized Dealers.
2120 System Board Assembly
Battery Pack(2020)
Diskette Drive(2030)
Hard Disk Drive(2035)
Keyboard Unit(2040)
Status Indicator(2060)
LCD Assembly(2070)
Speaker Shield Assembly(2080)
Audio Card(2085)
Interposer Card(2090)
DC/DC Card (2100)
Backup Battery(2110)
Standby Battery(2105)
Important:
The EEPROM on the system board contains the vital product data (VPD), that is, system unit serial number, system board serial number, and other computer unique data. When the system board is replaced, the system unit serial number must also be restored. Use the Set system identification utility on the maintenance diskette to restore the number.
Do not power-off the computer when restoring the VPD.
The serial number label is attached to the bottom cover.
Notes:
1. For Model 755C, there are two types the system boards. Make sure the correct by checking the part number in the part list. After replacing the system board, run the display test from the Easy-setup and use the Pause button to check the color graduations that are displayed after the Video Page screen. If the color blocks in one column are all the same color, replace the system board.
2. Before removing and replacing the system board, make sure that the PCMCIA cards are removed and the eject levers are not sticking out.
3. When replacing the system board assembly, align the power-key slide hub with the power-switch actuator by moving the power-key in the direction of the arrow. See the large circle in the figure. Before tightening any screws, check that the power-switch operates correctly.
4. Do not pull the PCMCIA slot assembly while removing the system board.
Use the following table for reference when replacing parts.
|
Step |
Location(Quantity) |
Length |
|
1 |
Hinge bracket (4) |
4 mm |
|
2 |
Base cover, lower shield (1) |
4 mm |
2130 PCMCIA Slot Assembly
Battery Pack(2020)
Diskette Drive(2030)
Hard Disk Drive(2035)
Keyboard Unit(2040)
Staus Indicator(2060)
LCD Assembly(2070)
Speaker Shield Assembly(2080)
Audio Card(2085)
Interposer Card(2090)
DC/DC Card(2100)
Backup Battery(2110)
Standby Battery
System Board Assembly(2120)
Notes:
1. When handling the PCMCIA slot assembly, be careful not to disassemble any part of it. The slot assembly is not solidly fixed when it is removed from the system board or the FRU.
In step 4, gently pull up the bottom of the center area of the connector board edge with your fingers.
2. The screw stand located each corner of the PCMCIA slot, is easy to remove. Make sure that the screw stand is located when replace the slot. Do not replace the slot without the screw.
Use the following table for reference when replacing parts.
|
Step |
Location(Quantity) |
Length |
|
1 |
PCMCIA slot, upper (2) |
12 mm |
|
2 |
PCMCIA slot, lower (2) |
14 mm |
Note:
Make sure you use the correct screw.
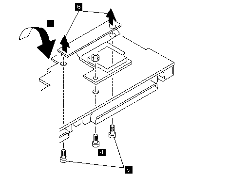
2140 Processor Card (750Ce, 755C, 755Cs)
Battery Pack(2020)
Diskette Drive(2030)
Hard Disk Drive(2035)
Keyboard Unit(2040)
Status Indicator(2060)
LCD Assembly(2070)
Speaker Shield Assembly(2080)
Audio Card(2085)
Interposer Card(2090)
DC/DC Card(2100)
Backup Battery(2110)
Standby Battery(2105)
System Board Assembly(2120)
PCMCIA Slot Assembly
Warning:
The system board can be damaged if the lower shield touches the system board components. Carefully follow the next instruction.
In step 3, gradually raise the system board from the lower shield until all components of the system board just clear the tabs of the lower shield. Be careful not to raise it too far. While keeping the clearance to a minimum, separate the system board from the lower shield by moving the system board straight forward as shown by step 3.
Note:
In step 1, each screw has a flat washer and a lock washer. When reinstalling the screws, make sure that the lock washer. When reinstalling the screws, make sure that the lock washer is placed next to the head of the screw. Incorrect washer placement can cause metal to flake.
Turn the system board upside down. Remove the screws 4 and 5. Models 370C, 755C and 755Cs have only the screw on the right side in step 5.
Notes:
1. In step 1, use 5.0 mm and 5.5 mm hex head screwdrivers. To remove the processor card, gently lift the area shown by 3 straight up. Do not pull the other areas.
2. In step 6, pull both edges of the bracket at the same time. Do not pull the center of the bracket.
Use the following table for reference when replacing parts.
|
Step |
Location(Quantity) |
Length |
|
1 |
Expansion bus, lower shield (2) |
Hex head |
|
1 |
I/O connector, lower shield (6) |
Hex head |
|
4 |
Processor card (1) |
6 mm |
|
5 |
Processor card connector 750x - (2), 370C, 755C, 755Cs - (1) |
4 mm |
Note:
Make sure you use the correct screw.
|
Search Keywords |
| |
|
Hint Category |
Hardware Maintenance Information | |
|
Date Created |
12-11-96 | |
|
Last Updated |
07-04-98 | |
|
Revision Date |
13-03-99 | |
|
Brand |
IBM ThinkPad | |
|
Product Family |
ThinkPad 370, ThinkPad 750, ThinkPad 755C/CS | |
|
Machine Type |
9545 | |
|
Model |
Various | |
|
TypeModel |
| |
|
Retain Tip (if applicable) |
N/A | |
|
Reverse Doclinks |