 
| 306.783 bytes | 
 Service Hints & Tips | Document ID: GSMH-3CGEGA | 
| This document is provided to IBM and our Business Partners to help sell and/or service IBM products. It is not to be distributed beyond that audience or used for any other purpose. | 
IBM ValuePoint - Type 6384 system board
Applicable to: World-Wide
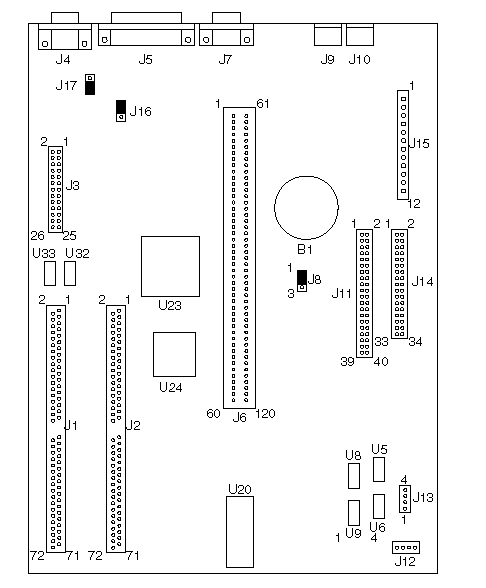
6384 325T System Board:
 
Figure 6. 6384 325T
6384 325T System Board:
 
| B1 | Battery | 
| J1 | Memory-Module Socket 1 | 
| J2 | Memory-Module Socket 0 | 
| J3 | Video Feature Connector | 
| J4 | Video Port | 
| J5 | Parallel Port | 
| J6 | Riser Connector | 
| J7 | Serial Port | 
| J8 | Password Bypass | 
| J9 | Mouse Port | 
| J10 | Keyboard Port | 
| J11 | Hard Disk Connector | 
| J12 | Beeper Bypass | 
| J13 | Pins 1 and 2 - Power-On LED | 
| J14 | Diskette Connector | 
| J15 | Power Connector | 
| J16 | IRQ9 | 
| J17 | VGA Enable | 
| U5 | 512K X 9 System Memory | 
| U6 | 512K X 9 System Memory | 
| U8 | 512K X 9 System Memory | 
| U9 | 512K X 9 System Memory | 
| U20 | BIOS | 
| U23 | Math Coprocessor | 
| U24 | 386SLC Processor | 
| U32 | 256K X 16 Video Memory | 
| U33 | 256K X 16 Video Memory | 
6384 425SX System Board:
 
  Figure 7. 6384 425SX
6384 425SX System Board:
| BT1 | Battery | 
| C17 | Capacitor (Used with JP8 to erase password.) | 
| J2 | External Battery | 
| J3 | Power Connector | 
| J4 | Serial Port (Comm A) | 
| J5 | Serial Port (Comm B) | 
| J6 | Diskette Connector | 
| J7 | Parallel Port | 
| J8 | Hard Disk Connector | 
| J11 | Hard Disk LED (pin 4 and 5) | 
| J12 | Riser Connector | 
| J15 | Video Feature Connector | 
| J16 | Video Port | 
| J45 | Memory-Module Socket Bank 0, 0 | 
| J46 | Memory-Module Socket Bank 0, 1 | 
| J47 | Memory-Module Socket Bank 0, 2 | 
| J48 | Memory-Module Socket Bank 0, 3 | 
| J49 | Memory-Module Socket Bank 1, 0 | 
| J50 | Memory-Module Socket Bank 1, 1 | 
| J51 | Memory-Module Socket Bank 1, 2 | 
| J52 | Memory-Module Socket Bank 1, 3 | 
| JP1 | IRQ9 | 
| JP8 | Battery Select | 
| JP10 | VGA Enable | 
| JP17 | VGA Enable | 
| JP21 | Keyboard Port | 
| JP22 | Mouse Port | 
| JP24 | Mouse Enable | 
| JP26 | Beeper Enable | 
| U214 | 487SX or 486DX2 | 
| U215 | 486SX Processor | 
6384 433DX or 466DX2 System Board:
 
  Figure 8. 6384 433DX or 466DX2
6384 433DX or 466DX2 System Board:
| BT1 | Battery | 
| C17 | Capacitor (Used with JP8 to erase password.) | 
| J2 | External Battery | 
| J3 | Power Connector | 
| J4 | Serial Port (Comm A) | 
| J5 | Serial Port (Comm B) | 
| J6 | Diskette Connector | 
| J7 | Parallel Port | 
| J8 | Hard Disk Connector | 
| J9 | Keyboard Connector | 
| J10 | Mouse Port | 
| J11 | Hard Disk LED (pin 4 and 5) | 
| J12 | Riser Connector | 
| J15 | Video Feature Connector J16 Video Port | 
| J45 | Memory-Module Socket Bank 0, 0 | 
| J46 | Memory-Module Socket Bank 0, 1 | 
| J47 | Memory-Module Socket Bank 0, 2 | 
| J48 | Memory-Module Socket Bank 0, 3 | 
| J49 | Memory-Module Socket Bank 1, 0 | 
| J50 | Memory-Module Socket Bank 1, 1 | 
| J51 | Memory-Module Socket Bank 1, 2 | 
| J52 | Memory-Module Socket Bank 1, 3 | 
| JP4 | BIOS Select | 
| JP8 | Battery Select | 
| JP10 | VGA Enable | 
| JP17 | VGA Enable | 
| JP20 | Beeper Enable | 
| JP200 | Cache Configuration | 
| JP201 | Cache Configuration | 
| JP206 | Cache Configuration | 
| JP207 | Cache Configuration | 
| JP209 | Mouse Enable | 
| JP305 | IRQ9 | 
| U300 | 486DX or 486DX2 Processor | 
Note:  
Jumpers should be set as shown.
6384 /D System Board (Type 1) (425SX, 433SX, 433DX, or 466DX2):
 
  Figure 9. 6384 /D (Type 1)
6384 /D System Board (Type 1) (425SX, 433SX, 433DX, or 466DX2):
| BT1 | Battery | 
| J1 | Power Connector | 
| J2 | Diskette Connector | 
| J3 | Hard Disk Connector | 
| J4 | Keyboard Connector | 
| J5 | BootBlock (not used: do not change) | 
| J6 | Write Disable | 
| J7 | Serial Port (Comm A) | 
| J8 | Mouse Port | 
| J9 | Password Bypass | 
| J10 | Processor Upgrade | 
| J11 | Processor Upgrade | 
| J12 | Serial Port (Comm B) | 
| J13 | Riser Connector | 
| J14 | Parallel Port | 
| J15 | Video Port | 
| J16 | Monochrome Adapter | 
| J17 | System Board Video Enable | 
| J18 | Memory-Module Socket, MEM 1 | 
| J19 | Memory-Module Socket, MEM 2 | 
| J20 | Memory-Module Socket, MEM 3 | 
| J21 | Memory-Module Socket, MEM 4 | 
| J23 | Power-On LED | 
| J24 | Hard Disk LED | 
| J25 | Speaker | 
| J26 | Video Feature Connector | 
| J47 | Video Memory Connector | 
| J48 | Video Memory Connector | 
| U9 | 486SX Processor | 
| U10 | 486DX or 486DX2 Processor Upgrade Socket | 
| U13 | Cache Socket | 
| U25 | Riser Connector Extension | 
Note:  
Jumpers should be set as shown.
6384 /D System Board (Type 2) (425SX, 433SX, 433DX, or 466DX2):
 
  Figure 10. 6384 /D (Type 2)
6384 /D System Board (Type 2) (425SX, 433SX, 433DX, or 466DX2):
| BT1 | Battery | 
| J1 | Keyboard Connector | 
| J2 | Mouse Port | 
| J3 | Serial Port (Comm A) | 
| J4 | Serial Port (Comm B) | 
| J5 | Parallel Port | 
| J6 | Video Port | 
| J7 | Hard Disk Connector | 
| J8 | Power Connector | 
| J9 | Diskette Connector | 
| J10 | BootBlock (not used: do not change) | 
| J11 | Riser Connector | 
| J12 | Monochrome Adapter | 
| J13 | System Board Video Enable | 
| J14 | Video Feature Connector | 
| J15 | Password Bypass | 
| J16 | Write Disable | 
| J17 | Processor Upgrade | 
| J18 | Processor Upgrade | 
| J19 | Memory-Module Socket, MEM 1 | 
| J20 | Memory-Module Socket, MEM 2 | 
| J21 | Memory-Module Socket, MEM 3 | 
| J22 | Memory-Module Socket, MEM 4 | 
| J24 | Power-On LED | 
| J25 | Hard Disk LED | 
| J26 | Speaker | 
| U49 | Riser Connector Extension | 
| U53 | 486SX Processor | 
| U56 | Cache Socket | 
| U58 | 486DX or 486DX2 Processor Upgrade Socket | 
| VEM1 | Video Memory Connector | 
| VEM2 | Video Memory Connector | 
Note:  
Jumpers should be set as shown.
6384 P60/D Pentium System Board:
 
Figure 11. 6384 P60/D Pentium
6384 P60/D Pentium System Board:
| 1 | Video Port | 
| 2 | Parallel Port | 
| 3 | Serial Port (Comm B) | 
| 4 | Serial Port (Comm A) | 
| 5 | Mouse Port | 
| 6 | Keyboard Port | 
| 7 | Monochrome/Color | 
| 8 | Setup (Reserved) | 
| 9 | CMOS Normal/Clear | 
| 10 | Password Bypass | 
| 11 | Program Write Protect | 
| 12 | FLASH Recover/Normal | 
| 13 | Power Supply Connectors | 
| 14 | Real-Time Clock | 
| 15 | PCI Power Connector | 
| 16 | Hard Disk Drive Connector | 
| 17 | Diskette Drive Connector | 
| 18 | Riser Connector | 
| 19 | Memory Module Connectors, Bank 0 | 
| 20 | Memory Module Connectors, Bank 1 | 
| 21 | Power-on LED | 
| 22 | Hard Disk LED | 
| 23 | Speaker | 
| 24 | Pentium Processor | 
| 25 | Fan Power Connectors | 
| 26 | 66/60 MHz Jumper (Reserved) | 
| 27 | Video Feature Connector | 
| 28 | Video Memory Connectors | 
| Search Keywords |  | |
| Hint Category | Hardware Maintenance Information | |
| Date Created | 18-12-96 | |
| Last Updated | 30-04-98 | |
| Revision Date | 05-01-99 | |
| Brand | IBM PC | |
| Product Family | ValuePoint | |
| Machine Type | 6384 | |
| Model | various | |
| TypeModel |  | |
| Retain Tip (if applicable) |  | |
| Reverse Doclinks |