|
15.846 bytes |
Service Hints & Tips |
Document ID: BMOE-425NRY |
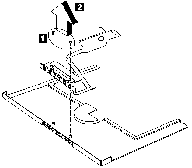
TP 1400 - CD Control Card Removal
Applicable to: World-Wide
The following information is intended for IBM Dealers and Authorized Servicers only. Customers attempting to follow any of the procedures below may void their warranty.
|
Step |
Size |
Head & |
Torque |
Memo |
|
1 |
M2 x 4L (2) |
Pan head, |
1.6 kgf-cm |
Note: Make sure you use the correct screw for replacement.
|
Search Keywords |
| |
|
Document Category |
Hardware Installation/Configuration, Hardware Maintenance Information | |
|
Date Created |
11-11-98 | |
|
Last Updated |
12-11-98 | |
|
Revision Date |
| |
|
Brand |
IBM ThinkPad | |
|
Product Family |
ThinkPad i Series 1400 | |
|
Machine Type |
2611 | |
|
Model |
Various | |
|
TypeModel |
| |
|
Retain Tip (if applicable) |
| |
|
Reverse Doclinks |