|
78.598 bytes |
Parts Information |
Document ID: MCGN-3RKVF8 |
PC Server 330 - System Parts Listing (8640 - 11Y, 21Y, PB0, PM0, PT0)
Applicable to: World-Wide
System
|
Index |
System (PC Server 330 - Type 8640) |
FRU |
Previous FRU |
|
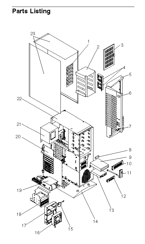
1 |
DASD Hot Swap Backplane |
06H8576 | |
|
2 |
DASD Hot Swap Shell |
61H0030 | |
|
3 |
DASD Hot Swap Door |
76H5035 | |
|
4 |
Fan Assembly 80 MM with Connector |
60H9673 | |
|
5 |
Front Bezel/Door Assembly |
60H7061 | |
|
5 |
Front Bezel/Door Assembly (Models 11Y, 21Y) |
11L2347 | |
|
6 |
PC Server 330 Label |
75H8324 | |
|
7 |
Keylock with Key |
33F8433 | |
|
8 |
CD-ROM 16/8 Bit SCSI Converter |
92F0324 | |
|
9 |
MKE CR-504 8X SCSI CD-ROM Drive See CD-ROM Replacement. |
73H2601 | |
|
9 |
12X SCSI CD-ROM Drive (Models 11Y, 21Y) |
93H8055 | |
|
10 |
8 MM White Blank Bezel |
72H2668 | |
|
11 |
LED/On/Off Switch Cable Assembly |
55H8168 | |
|
12 |
3.5-Inch Blank Vented Bezel |
71G0770 | |
|
13 |
1.44MB Diskette Drive |
93F2361 | |
|
14 |
Pedestal |
96G2412 | |
|
15 |
Speaker |
06H2649 | |
|
16 |
Fan Assembly 120 MM with Connector |
11L2341 |
76H3447 |
|
16 |
Fan Assembly 120 MM with Connector (Models 11Y, 21Y) |
11L2341 | |
|
17 |
Card Guide |
60H5742 | |
|
18 |
DASD 3-Drive Cage Assembly |
60H9344 | |
|
19 |
Microprocessor Card without Processor (Models PT0, PBO, 11Y, 21Y) |
12J2681 | |
|
20 |
System Board without Memory and Microprocessor |
60H8109 | |
|
21 |
350W Power Supply Assembly |
75H8479 | |
|
22 |
Base Frame Assembly |
61H0087 | |
|
23 |
Access Cover |
60H9349 | |
|
Air Baffle |
01K7067 | ||
|
C2 Cable Cover (Optional, when available) |
55H8188 | ||
|
C2 Security Cable (Optional, when available) |
76H0206 | ||
|
DASD Tray |
06H8631 | ||
|
Door Hinge |
55H8186 | ||
|
32 MB ECC 3.3v Buffered DIMM (Model PM0) |
12J4121 | ||
|
64 MB ECC 3.3v Buffered DIMM (Models 11Y, 21Y, PB0, PT0) |
12J4122 | ||
|
128MB ECC 3.3V Buffered DIMM (Models 8S0, PS0, PSW, PM0, and PMW) (Optional) |
76H0656 | ||
|
256MB ECC 3.3V Buffered DIMM (Models 8S0, PS0, PSW, PM0, and PMW) (Optional) |
12J4123 | ||
|
Heat Sink with Chip and Grease (Model PM0) |
76H1814 | ||
|
Keyboard with Cable. See "Keyboards (101/102 Key)" |
. | ||
|
Lithium Coin Cell Battery |
33F8354 | ||
|
Microprocessor Card (Model PM0) |
75H7419 | ||
|
Logo Gray |
12J5687 | ||
|
Miscellaneous Parts Kit (Models PB0, PT0, PTW) |
55H8179 | ||
|
8 MM EMC Shield |
72H2666 | ||
|
Mouse |
06H4595 | ||
|
200 MHz Microprocessor Chip with 512K Cache and Heat Sink (Model PM0) |
12J3501 | ||
|
233 MHz Microprocessor Chip with 512K Cache and Heat Sink (Model PT0) |
12J2700 | ||
|
266 MHz Microprocessor Chip with 512K Cache and Heat Sink (Model PB0) |
12J2703 | ||
|
300 MHz Microprocessor Chip with 512K Cache and Heat Sink (Model 11Y) |
11L1808 | ||
|
333 MHz Microprocessor Chip with 512K Cache and Heat Sink (Model 21Y) |
01K4327 | ||
|
Power Cord. See "Power Cords" |
. | ||
|
Processor Card Tray (Models 11Y, 21Y, PB0, PT0) |
60H9816 | ||
|
Processor Card Tray(Model PM0) |
60H9691 | ||
|
PC Service Label (Models 11Y, 21Y) |
11L2355 | ||
|
PC Service Label (Models PT0, PB0) |
60H7180 | ||
|
PC Service Label (Model PM0) |
60H9824 | ||
|
Rear Bezel (Optional) |
60H9819 | ||
|
Service Processor Adapter (Model 21Y) |
12J4743 | ||
|
Shadow Box |
60H8258 | ||
|
Terminator Card (Models 11Y, 21Y, PB0, PT0) |
36L9420 |
12J2701 | |
|
Voltage Regulator Card (Models 11Y, 21Y, PB0, PT0) |
12J2699 | ||
|
Voltage Regulator Card (Model PM0) |
07H1097 |
76H1815 | |
|
DASD Status Cable |
60H9326 | ||
|
Diskette Drive Signal Cable |
06H6344 | ||
|
Parallel Data Cable |
61H0036 | ||
|
SCSI Cable (1X) |
61H0075 | ||
|
SCSI Internal/External Cable |
61H0084 | ||
|
SCSI Hard Disk Drive Fast/Wide Cable (3X)(Terminated) |
76H3455 | ||
|
SCSI Short Cable to I/O Casting |
55H8190 | ||
|
Serial Cable |
61H0034 |
|
Search Keywords |
| |
|
Document Category |
Service Parts | |
|
Date Created |
11-02-98 | |
|
Last Updated |
23-03-99 | |
|
Revision Date |
23-03-2000 | |
|
Brand |
IBM PC Server | |
|
Product Family |
PC Server 330 | |
|
Machine Type |
8640 | |
|
Model |
11Y; 21Y; PB0; PM0; PT0 | |
|
TypeModel |
| |
|
Retain Tip (if applicable) |
| |
|
Reverse Doclinks |