|
27.544 bytes |
Service Hints & Tips |
Document ID: DDSE-3UXMXP |
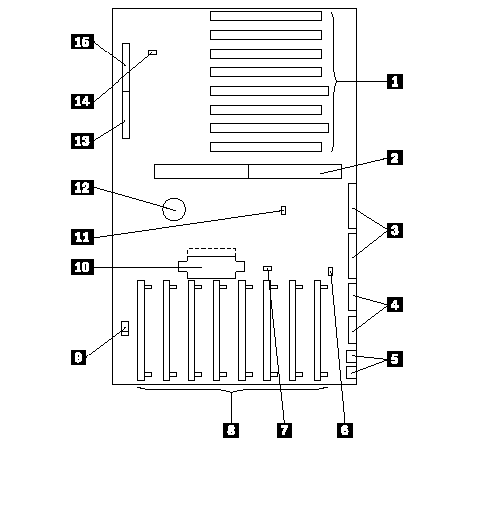
PC Server 500 - Locations (system board)
Applicable to: World-Wide
Locations (System Board)
1. 32-bit expansion slots (video extensions J25, J27)
2. Processor slot
3. Parallel ports
4. Serial ports
5. Keyboard/Pointing-device connectors
6. Power-on Features jumper
7. Privilege-access password jumper
8. Memory-module connectors
9. Tamper-evident cable connector
10. Power Supply connector
11. Override jumper connector (JMP1)
12. Battery
13. Diskette-drive cable connector
14. Reserved (Pins 1 and 2 must be connected.)
15. Operator-panel cable connector

|
Search Keywords |
| |
|
Hint Category |
Hardware Maintenance Information, Processors | |
|
Date Created |
15-08-96 | |
|
Last Updated |
22-01-99 | |
|
Revision Date |
29-09-99 | |
|
Brand |
IBM PC Server | |
|
Product Family |
PC Server 500 | |
|
Machine Type |
8641 | |
|
Model |
| |
|
TypeModel |
| |
|
Retain Tip (if applicable) |
| |
|
Reverse Doclinks |