|
40.409 bytes |
Service Hints & Tips |
Document ID: GCOR-38ZL7C |
Aptiva - 2134/2176/2159 Hard disk drive jumper settings
Applicable to: World-Wide
Hard Disk Drive Jumper Settings:
Up to four drive devices (hard disk, CD-ROM, or Zip drives) can be installed in Service Level A systems. If any drives do not show in the Installed Devices list in the Setup Utility, ensure the jumper settings and connectors are set as shown here. Refer to "System Board Layout - Type A-1" and "System Board Layout - Type A-2" for connector location information.
Primary Hard Disk Drive IDE Local Bus Connector:
At the primary hard disk drive IDE connector, make sure the first drive installed is set as the master drive (1 in the following figures).
Note:
If a second drive is installed, it must be attached to the secondary IDE connector. Set the jumpers as the slave drive (2 in the following figures).
All recovery preloaded software should be installed on the master hard disk drive on the primary connector.
Secondary Hard Disk Drive Connector:
If additional drives are connected to the secondary hard disk drive connector, set the first drive connected to this connector as the master drive (1 in the following figures). If a second drive is connected to the secondary hard disk drive connector, set the jumpers as the slave drive (2 in the following figures). Ensure all software is set to recognize all installed drives.
For non-internal Zip models, the CD-ROM drive is connected to the secondary drive connector at the factory as the master drive. If an additional hard disk drive is connected to the secondary connector, it must be set as the master drive,1, and the CD-ROM drive jumpers reset as the slave drive (see ¿CD-ROM Drive Jumper Settings—).
Note:
Check the Setup Utility for correct installation:
Hard Disk 1 Master drive
Hard Disk 2 Slave drive
Hard Disk 3 Master drive (CD-ROM if other drive not
connected to this connector.
Also, Zip drive with
internal Zip drive models)
Hard Disk 4 Slave drive (CD-ROM if hard disk or internal Zip
drive installed at secondary connector,
Hard Disk 3)
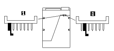
For jumper settings, match your hard disk drive to one of the following figures.
1 = Master Drive
2 = Slave Drive.
1.6 GB, 2.0 GB Drive
850 MB, 2.0 GB, 2.5 GB Drive
For jumper settings, match your hard disk drive to one of the following figures.
1 = Master Drive
2 = Slave Drive.
Figure 1-20. 850 MB, 1.2 GB Drive
Figure 1-21. 1.6 GB, 3.2 GB Drive
|
Search Keywords |
| |
|
Hint Category |
Hard Drives, Jumper/Switch Settings | |
|
Date Created |
27-08-96 | |
|
Last Updated |
08-12-98 | |
|
Revision Date |
07-12-99 | |
|
Brand |
IBM Aptiva | |
|
Product Family |
Aptiva | |
|
Machine Type |
2134, 2176 | |
|
Model |
| |
|
TypeModel |
| |
|
Retain Tip (if applicable) |
| |
|
Reverse Doclinks |