|
170.110 bytes |
Parts Information |
Document ID: JGRI-3FGTUC |
Aptiva - 2161/2162 System Board FRU 93H2477
Applicable to: World-Wide
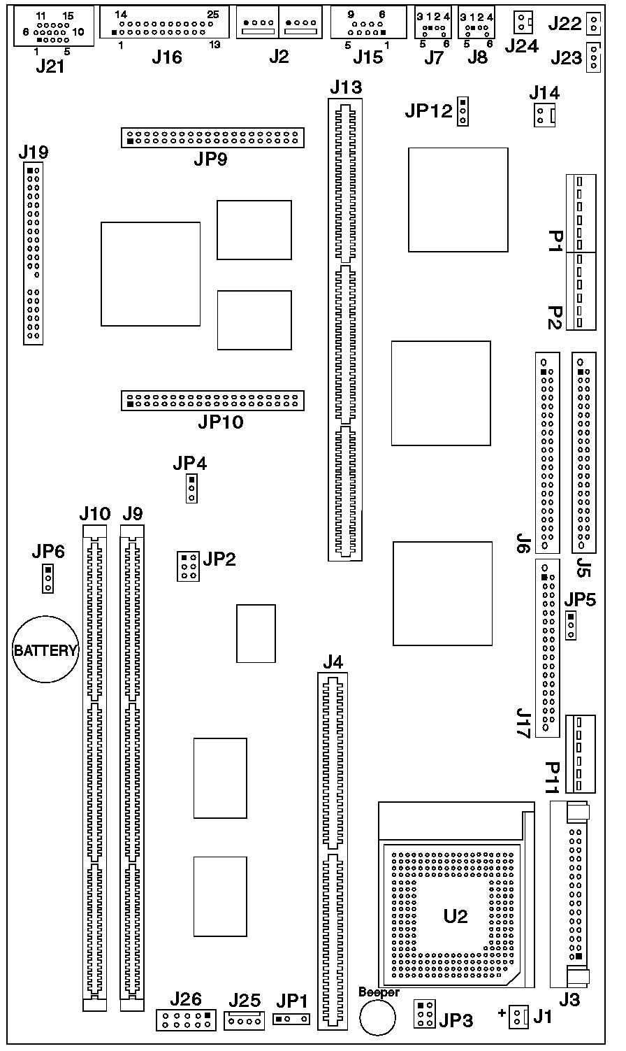
Jumper Locations
J1 Fan +12 V dc connector
J2 USB (Universal Serial Bus)
J3 System board voltage regulator connector
J4 Cache connector
J5 Primary Hard Disk IDE (Hard Disk 1, Hard Disk 2)
J6 Secondary Hard Disk IDE (Hard Disk 3 or CD-ROM, Hard Disk 4)
J7 Mouse connector
J8 Keyboard connector
J9 DIMM 168-pin Socket
J10 DIMM 168-pin Socket
J13 Riser Connector--PCI/ISA
J14 External speaker power connector
J15 Serial Port connector
J16 Parallel Port connector
J17 Diskette drive connector
J19 VESA feature connector
J21 Monitor signal connector
J22 Power Supply 2-pin connector (On/off switch)
J23 Power Supply 3-pin connector (Aux 5 V dc)
J24 Wake Up On Ring connector
J25 HDD/Power-on LED connector (HDD: 1-2, Power-
J26 Media console connector - not used
JP1 External speaker (Internal: 1-2, External: 2-4)
JP2 System board bus clock
JP3 Core/Bus frequency ratio
JP4 System board flash jumper (Normal: 1-2, Write protect: 2 )
JP5 Diskette Drive (FDD) write enable (Enable: 1-2, Disable:
JP6 CMOS, Power-on Password Reset (Normal: 1-2, Clear: 2-3)
JP9 Video memory upgrade card connector
JP10 Video memory upgrade card connector
JP12 Home Director (Home Director: 1-2, Wakeup On Ring over Serial Port only: 2-3)
P1,P2 Power supply connector
P11 3.3 V dc Power supply connector
U2 Processor
|
Search Keywords |
| |
|
Document Category |
System Boards | |
|
Date Created |
24-03-97 | |
|
Last Updated |
07-12-98 | |
|
Revision Date |
07-12-99 | |
|
Brand |
IBM Aptiva | |
|
Product Family |
Aptiva | |
|
Machine Type |
2161, 2162 | |
|
Model |
All | |
|
TypeModel |
| |
|
Retain Tip (if applicable) |
| |
|
Reverse Doclinks |