|
268.221 bytes |
Parts Information |
Document ID: DDSE-44JL2Y |
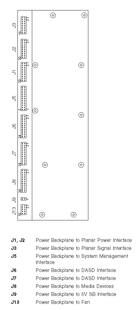
Netfinity 7000 - Power Backplane Card
Applicable to: World-Wide
Connectors: If power supplies are OK and the power backplane voltages are incorrect, replace the power backplane.
If the voltages are correct, and the Symptom-to-FRU index does not solve the problem, go to "Undetermined Problems" on page 167.

|
Search Keywords |
| |
|
Document Category |
Backplane | |
|
Date Created |
27-01-99 | |
|
Last Updated |
27-01-99 | |
|
Revision Date |
27-01-2000 | |
|
Brand |
IBM PC Server | |
|
Product Family |
Netfinity 7000 | |
|
Machine Type |
8651 | |
|
Model |
| |
|
TypeModel |
| |
|
Retain Tip (if applicable) |
| |
|
Reverse Doclinks |