|
130.157 bytes |
Parts Information |
Document ID: GSMH-3D3D6F |
|
This document is provided to IBM and our Business Partners to help sell and/or service IBM products. It is not to be distributed beyond that audience or used for any other purpose. |
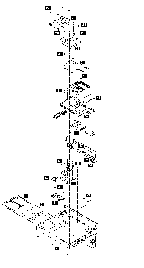
Notebook CL57SX - Computer Exploded View
Applicable to: World-Wide
Model CL57 Exploded View:
Model CL57 Exploded View (continued):
|
Search Keywords |
| |
|
Document Category |
| |
|
Date Created |
06-01-97 | |
|
Last Updated |
12-12-97 | |
|
Revision Date |
21-11-98 | |
|
Brand |
IBM ThinkPad | |
|
Product Family |
Notebook CL57SX | |
|
Machine Type |
8554 | |
|
Model |
Various | |
|
TypeModel |
| |
|
Retain Tip (if applicable) |
N/A | |
|
Reverse Doclinks |