|
207.471 bytes |
Parts Information |
Document ID: DSHY-3PGLXB |
|
This document is provided to IBM and our Business Partners to help sell and/or service IBM products. It is not to be distributed beyond that audience or used for any other purpose. |
TP SelectaDock I - FRU Removal & Replacement
Applicable to: World-Wide
FRU Removal and Replacement
This section contains information on removals and replacements, and locations.
The arrows in the removals and replacements show the direction of movement to remove a field replaceable unit (FRU), or to turn a screw to release the FRU. The arrows are marked in numeric order to show the correct sequence of removal.
When other FRUs must be removed before removing the failing FRU, they are listed at the top of the page. Go to the removal procedure for each FRU listed, remove the FRU, and then continue with the removal of the failing FRU.
To replace a FRU, reverse the removal procedure and follow any notes that pertain to replacement. See "Locations" for internal cable connections and arrangement information.
1) Before removing any FRU, power-off the ThinkPad Dock I and computer, unplug all power cords from electrical outlets, remove the battery pack, and then disconnect any interconnecting cables.
Warning: The main board, adapters, and circuit boards on the drives are sensitive to, and can be damaged by, electrostatic discharge.
Establish personal grounding by touching a ground point with one hand before touching these units.
Note: An electrostatic discharge (ESD) strap must be used to establish personal grounding.
1010 SelectaDockI
Make sure the security key is in the unlock position.
1020 Rear Panel / Option Card Cover (Option)
Rear Panel
Option Card Cover (If installed)
1030 Upper Cover
SelectaDock Base Model I (1010)
Rear Panel / Option Card Cover (1020)
Step Length (Quantity) Memo
1 M 2.6 x 5mm (2) Self tap, Black
2 M 2.6 x 5mm (1) Self tap
3 M 2.6 x 8mm (3) Black
1040 Fan Assembly
SelectaDock Base Model I (1010)
Rear Panel / Option Card Cover (1020)
Upper Cover (1030)
Step Length (Quantity) Memo
1 M 2.6 x 5mm (3) Self tap
2 M 2.6 x 5mm (2) Self tap
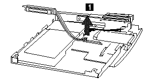
1050 LCD Panel
SelectaDock Base Model I (1010)
Rear Panel / Option Card Cover (1020)
Upper Cover (1030)
1060 Power Unit
SelectaDock Base Model I (1010)
Rear Panel / Option Card Cover (1020)
Upper Cover (1030)
Connector of the LCD Panel (1050)
Step Length (Quantity) Memo
2 M 3 x 5mm (1)
3 M 2.6 x 5mm (1)
4 M 2.6 x 8mm (1)
5 M 2.6 x 4mm (2)
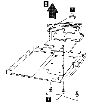
1070 Riser Card/Main Board
SelectaDock Base Model I (1010)
Rear Panel / Option Card Cover (1020)
Upper Cover (1030)
Fan Assembly (1040)
Connector of the LCD panel (1050)
Power Unit (1060)
Step Length (Quantity) Location
1 M 2.6 x 5mm (1) Main Board
M 2.6 x 6mm (2) FDD connector
M 2.6 x 8mm (2) HDD connector
2 M 2.6 x 8mm (1)
3 M 2.6 x 3mm (1) Precision screw
4 M 2.6 x 8mm (1)
Step Length (Quantity) Memo
5 M 2 x 4mm (2) Flat head
Step Length (Quantity) Location
7 a: M 2.6 x 5 mm (1) b: Bottom of the base
b: M 2.5 x 3 mm (3) cover
Step Length (Quantity) Location
9 M 2.6 x 4mm (2) Self tap

|
Search Keywords |
| |
|
Document Category |
Hardware Maintenance Information | |
|
Date Created |
02-08-96 | |
|
Last Updated |
16-03-98 | |
|
Revision Date |
12-03-99 | |
|
Brand |
IBM ThinkPad | |
|
Product Family |
ThinkPad Docking Stations | |
|
Machine Type |
3547 | |
|
Model |
001 | |
|
TypeModel |
| |
|
Retain Tip (if applicable) |
| |
|
Reverse Doclinks |