|
42.222 bytes |
Parts Information |
Document ID: GSMH-3ASBRR |
IBM PC100 (Type 6281) - Parts Diagram/FRU Listing
Applicable to: World-Wide
System Unit (Type 62xx)
|
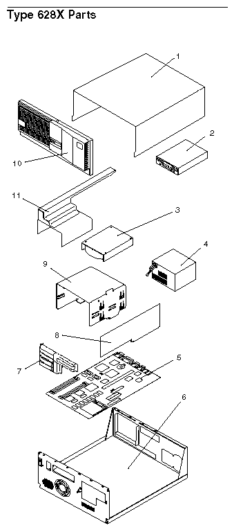
1 |
Top Cover and Logo | |
|
Top Cover 3x3 with labels (6271) |
06H5722 | |
|
Top Cover 5x5 with labels (6281) |
06H1771 | |
|
IBM Logo |
06H5723 | |
|
2 |
Diskette Drives and Cables | |
|
3.5' 1.44MB Diskette Drive |
93F2361 | |
|
3.5' 2.88MB Diskette Drive |
82G1887 | |
|
5.25' 1.2MB Diskette Drive |
82G1824 | |
|
Diskette Drive Cable 3x3 (6271) |
06H6344 | |
|
Diskette Drive Cable 5x5 (6281) |
06H6325 | |
|
3 |
Hard Disk Drives and Cables | |
|
170MB Hard Disk Drive |
71G4958 | |
|
270MB Hard Disk Drive |
06H4152 | |
|
364MB Hard Disk Drive |
82G5927 | |
|
540MB Hard Disk Drive |
82G5926 | |
|
728MB Hard Disk Drive |
82G5929 | |
|
1GB Hard Disk Drive |
06H1611 | |
|
Hard Disk Drive Cable |
06H6326 | |
|
Hard Disk Drive LED and Cable |
93F2388 | |
|
4 |
Power Supplies | |
|
145 Watt Power Supply 3x3 (6271) |
06H2972 | |
|
210 Watt Power Supply 5x5 (6281) |
06h2967 | |
|
5 |
System Board (Without processor, memory, or cache) |
65G4182 |
|
Processors | ||
|
486Dx2-33/66 |
71G0795 | |
|
486Dx4-100 with regulator |
82G5056 | |
|
72-Pin Memory (Non-parity) | ||
|
4MB Non-parity |
92G7540 | |
|
8MB Non-parity |
92G7542 | |
|
16MB Non-parity |
92G7544 | |
|
32MB Non-parity |
92G7546 | |
|
L2 Gache | ||
|
128KB |
06H4759 | |
|
256KB |
06H4760 | |
|
6 |
Base Assembly | |
|
Base Assembly 3x3 (6271) |
06H5728 | |
|
Foot 4 each 3x3 (6271) |
10H3080 | |
|
Base Assembly 5x5 (6281) |
06H1772 | |
|
Foot 4 each 5X5 (6281) |
06H1773 | |
|
LED and Power Cable |
93F2389 | |
|
Blank Bezel with/without audio 3x3 (6271) |
06H6992 | |
|
Blank Bezel with/without audio 5x5 (6281) |
06H1774 | |
|
Blank Bezel holder 3x3 (6271) |
06H5740 | |
|
Blank Bezel PCMCIA 3x3 (6271) |
06H5741 | |
|
Blank Bezel PCMCIA 5x5 (6281) |
06H1784 |
|
Search Keywords |
| |
|
Document Category |
Service Parts | |
|
Date Created |
07-05-96 | |
|
Last Updated |
13-11-98 | |
|
Revision Date |
12-11-99 | |
|
Brand |
IBM PC | |
|
Product Family |
PC 100 | |
|
Machine Type |
6281 | |
|
Model |
all | |
|
TypeModel |
| |
|
Retain Tip (if applicable) |
| |
|
Reverse Doclinks |