110.468 bytes

Service Hints & Tips

Document ID: GSMH-3C8HXD

This document is provided to IBM and our Business Partners to help sell and/or service IBM products. It is not to be distributed beyond that audience or used for any other purpose.

TP General - N51 FRU Removals and Replacements

Applicable to: World-Wide

FRU Removals and Replacements:
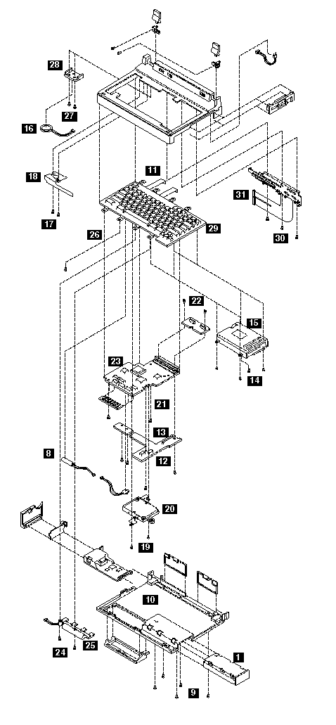
Follow the numerical sequence in the FRU removal sequence list and the exploded view to remove or disconnect parts in the correct order. The letters in parentheses in the list indicate screw types. See the -- 'Screw Size Chart' -- to match the letters to the correct screw type and size before replacing each screw.

Safety Notice 8:
Before removing any FRU, power-off the computer, unplug all power cords from electrical outlets, remove the battery pack, then disconnect any interconnecting cables.

Safety Notice 1:
Before the computer is powered-on after FRU replacement, make sure all screws, springs, or other small parts are in place and are not left loose inside the computer. Verify this by shaking the computer and listening for rattling sounds. Metallic parts or metal flakes can cause electrical shorts.

1

Battery Pack

2

LCD Hinge Covers
(Press down on the hinge cover and slide it forward until the tabs clear the bezel.)

3

Two Screws (T) with Flat Washers
(At bottom of bezel plate)

4

Screen Bezel Plate

5

Four Screws (2-T, 2-H)
(At display corners)
Upper Right Screen Cable
Left Center Screen Cable
Lower Right Screen Cable

6

Two Hinge Screws (V) with Flat Washers
(One on each hinge)

7

Screen Sub-Assembly

8

Backup and Standby Batteries
(When installing backup battery, align wires with edge of voltage converter. Ensure wires do not extend beyond edge of voltage converter or they might be damaged when you replace bottom cover.)

9

Five Screws (4-E, 1-V)
(On bottom cover)

10

Bottom Cover
Ribbon Cable from Diskette Drive
Battery Cable Voltage Converter Cable

11

Keyboard Cables

12

Three Voltage Converter Screws (2-H, 1-T)

13

Voltage Converter
(Voltage converter consists of three boards. Gently lift voltage converter up to unplug two connectors from system board.)

14

Four Diskette Drive Cables
(These cables are very fragile. Be very careful when disconnecting them.)
Four Diskette Drive Screws (H)

15

Diskette Drive

16

Speaker

17

Two Battery Bracket Screws (B)

18

Battery Bracket

19

Two Hard Disk Drive Cables
(These cables are very fragile. Be very careful when disconnecting them.)
Two Hard Disk Drive Screws (H)

20

Hard Disk Drive
(Have customer backup all information on hard disk drive before removal. When replacing hard disk drive, use customer's backup Reference Diskette to restore system partition.)

21

Upper Left System Board Cable Six System Board Screws (2-L, 4-H)
Lower Left System Board Cable
Upper Left System Board Cable
Upper Right System Board Cable
Two Cables, System Board Top Edge

22

Two Screws (T) and Keyboard Control Card
(When replacing keyboard control card, make sure that switch setting on card is correct for type of keyboard used.)

23

System Board
(Run Automatic Configuration and set time and date.)

24

Two Battery Connector Card Screws (H)

25

Battery Connector Card

26

Six Keyboard Screws (H)
(Four front and two rear keyboard assembly screws. Two rear screws are located in line with two battery connector card screws.)

27

Two Speaker Bracket Screws (B)

28

Speaker Bracket

29

Keyboard Assembly

30

Three PC Board Screws (H)

31

Rear Panel PC Board


Model N51 Exploded View:

Model N51 Exploded View (continued):


Search Keywords

Hint Category

Hardware Maintenance Information

Date Created

10-12-96

Last Updated

01-05-98

Revision Date

28-04-99

Brand

IBM ThinkPad

Product Family

Notebook N51

Machine Type

8551

Model

TypeModel

Retain Tip (if applicable)

N/A

Reverse Doclinks
and Admin Purposes