64.633 bytes

Service Hints & Tips

Document ID: BMOE-425PTX

TP 1400 - Diskette and CD-ROM Drives Assembly Removal

Applicable to: World-Wide

The following information is intended for IBM Dealers and Authorized Servicers only. Customers attempting to follow any of the procedures below may void their warranty.


Step

Size
(Quantity)

Head &
Color

Torque

Memo

2

M2.5 x 6L (2)

Bind head,
black

3.2 kgf-cm

w/ nylok
paste


Note: Make sure you use the correct screw for replacement.

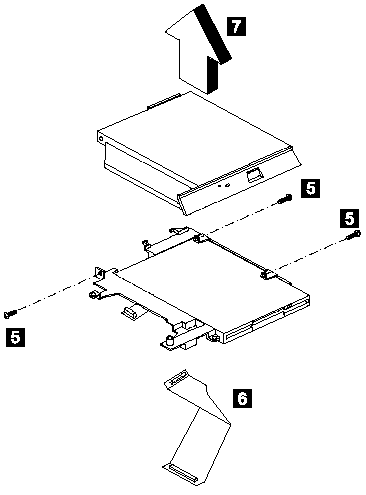
Attention: You must pull out the CD tray before removing the Diskette and CD-ROM Drives Assembly. Use a small stick to press the CD-ROM-drive-emergency-eject hole to open the CD-tray.

CD-ROM Module

Step

Size
(Quantity)

Head &
Color

Torque

Memo

5

M2 x 4L (3)

Pan head,
silver

1.2 kgf-cm

Note: Make sure you use the correct screw for replacement.

CAUTION: Do not disassemble the CD-ROM; there are no user adjustments or serviceable parts inside. The use of controls, adjustments or performing procedures other than those specified may result in hazardous radiation exposure.

Do not apply any extra force to the CD-ROM drive when removing it.

Diskette Drive (FDD with Bezel)

Step

Size
(Quantity)

Head &
Color

Torque

Memo

8

M2.5 x 3.5L (3)

Bind head,
black

1.6 kgf-cm

w/ nylok
paste


Note: Make sure you use the correct screw for replacement.

Search Keywords

Document Category

Hardware Installation/Configuration, Hardware Maintenance Information

Date Created

11-11-98

Last Updated

12-11-98

Revision Date

Brand

IBM ThinkPad

Product Family

ThinkPad i Series 1400

Machine Type

2611

Model

Various

TypeModel

Retain Tip (if applicable)

Reverse Doclinks
and Admin Purposes