|
18.351 bytes |
Service Hints & Tips |
Document ID: GKEY-3H5C4C |
PCServer704 - Diagrams (Power Supply)
Applicable to: World-Wide
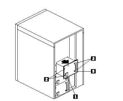
Power Supply
|
1. |
AC power cord receptacle |
|
2. |
Screws |
|
3. |
Power supply handle |
|
Search Keywords |
| |
|
Hint Category |
Hardware Maintenance Information, Power | |
|
Date Created |
16-05-97 | |
|
Last Updated |
28-05-98 | |
|
Revision Date |
27-05-99 | |
|
Brand |
IBM PC Server | |
|
Product Family |
PC Server 704 | |
|
Machine Type |
8650 | |
|
Model |
Various | |
|
TypeModel |
| |
|
Retain Tip (if applicable) |
| |
|
Reverse Doclinks |