| 
 69.393 bytes  | 
 
 Parts Information | 
 Document ID: DSHY-3PGLXG  | 
| 
 This document is provided to IBM and our Business Partners to help sell and/or service IBM products. It is not to be distributed beyond that audience or used for any other purpose.  | 
TP SelectaDock I - Parts Locations
Applicable to: World-Wide
Locations
SelectaDock Base Model I
Front View
1  Security Lock
2  Lock Indicator
3  PC Card Lock
4  Right-Hand Hole
5  Computer Catch Slit
6  Computer Lock
7  Left-Hand Hole 
8  Ejector
9  Docking Connector
Rear View
1    Mouse/Pointing Device Connector
2    Keyboard/Numeric Keypad Connector
3    Kensington Lock Keyhole
4    Parallel Connector
5    Power Jack
6    Line-Out Jack
7    Serial Connector
8    External Display Connector
9    External Diskette Drive Connector
10  Expansion Connector
SelectaDockI
Front View
1    PCMCIA Slot
2    PC Card Lock Slide
3    SelectaDock Base ModelI Lock
4    UltraBay Connector1 
5    UltraBay Connector2
6    Feature Jumper
7    Blank Bezel
8    Status Indicator
9    Docking Guide
10  Docking Connector
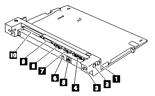
Rear View
1  Power Connector
2  MIDI/Joystick Jack 
3  SCSI Connector
4  Line-Out Jack
5  ISA Adapter Card Slot
6  PCI Adapter Card Slot
System Status Indicators
1  Docked
1  Power On
2  Suspend Mode
3  Diskette Drive In-use
4  Hard Disk In-use
5  Attention

| 
 Search Keywords  | 
 | |
| 
 Document Category  | 
 Hardware Maintenance Information  | |
| 
 Date Created  | 
 02-08-96  | |
| 
 Last Updated  | 
 16-03-98  | |
| 
 Revision Date  | 
 12-03-99  | |
| 
 Brand  | 
 IBM ThinkPad  | |
| 
 Product Family  | 
 ThinkPad Docking Stations  | |
| 
 Machine Type  | 
 3547  | |
| 
 Model  | 
 001  | |
| 
 TypeModel  | 
 | |
| 
 Retain Tip (if applicable)  | 
 | |
| 
 Reverse Doclinks  |