|
25.345 bytes |
Service Hints & Tips |
Document ID: GSMH-3BTEB4 |
TP 701C/CS - Inverter Card Locations
Applicable to: World-Wide
Inverter Card Front (View):
Inverter Card (Front View):
|
1 |
Light-Emitting Diodes |
|
2 |
System Board Connector |
Inverter Card (Rear View):
|
1 |
Light-Emitting Diodes |
|
2 |
Infrared Serial Port |
|
3 |
LCD Connector |
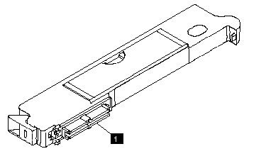
Inverter Card (Front View):
|
1 |
Port Connector |

|
Search Keywords |
| |
|
Hint Category |
Hardware Maintenance Information | |
|
Date Created |
27-11-96 | |
|
Last Updated |
19-08-98 | |
|
Revision Date |
18-08-99 | |
|
Brand |
IBM ThinkPad | |
|
Product Family |
ThinkPad 701 | |
|
Machine Type |
2630 | |
|
Model |
Various | |
|
TypeModel |
| |
|
Retain Tip (if applicable) |
N/A | |
|
Reverse Doclinks |