|
650.549 bytes |
Service Hints & Tips |
Document ID: GSMH-3B7CWC |
|
This document is provided to IBM and our Business Partners to help sell and/or service IBM products. It is not to be distributed beyond that audience or used for any other purpose. |
TP 355/360 - FRU Removals And Replacements
Applicable to: World-Wide
FRU Removals and Replacements:
This section contains information about removals and replacements.
The system board is sensitive to, and can be damaged by, electrostatic discharge. Establish personal grounding by touching a ground point with one hand before touching these units.
An electrostatic discharge (ESD) strap must be used to establish personal grounding.
Do not damage any part. Only certified trained personnel should service the computer.
The arrows in the "Removals and Replacements" section show the direction of the movement to remove a FRU, or to turn a screw to release a FRU. The arrows are marked in numeric order, in square call outs, to show the correct sequence of removal. When others FRUs must be removed before removing the failing FRU, they are listed at the top of the page. To replace a FRU, reverse the removal procedure and follow any notes that pertain to replacement.
See "Locations " for internal cable connections and arrangement information.
When replacing a FRU, use the correct screw size as shown in the procedures.
Safety Notice 8:
Before removing a FRU, power-off the computer, unplug all power cords from electrical outlets, remove the battery pack, and then disconnect any interconnecting cables.
Safety Notice 3:
The battery pack contains small amounts of nickel. Do not disassemble it, throw into fire or water, or short-circuit it. Dispose of the battery pack as required by local ordinances or regulations.
Safety Notice 1:
Before the computer is powered-on after FRU replacement, make sure all screws, springs, or other small parts, are in place and are not left loose inside the computer. Verify this by shaking the computer and listening for rattling sounds. Metallic parts or metal flashes can cause electrical shorts.
Removal Models:
1010 Rear Connector Door
Remove the center latch 1; then remove the rear connector door by flexing it 2.
1015 Foot:
To replace the foot:
Align the foot in the open position with one pivot in its hinge in the base cover.
1020 Battery Pack:
Notes:
1. Be careful that the computer does not fall backward when the battery pack is removed.
2. Check that the keyboard latch springs are in place.
1030 Diskette Drive:
Battery pack (1020)
Warning:
1. Check that the backup and standby batteries are seated correctly to prevent damage to the diskette drive.
2. Do not put any pressure on the diskette drive cover. Remove the diskette drive exactly as shown in the figure.
3. Make sure that a diskette is not installed in the drive. Removing the drive with a diskette installed causes bending or damaging the eject button.
After replacing the diskette drive, latch the removal strap into the correct position.
1035 Hard Disk Drive:
Battery pack (1020)
Warning:
1. Do not apply any extra force to the hard disk drive when removing it. Remove the hard disk drive exactly as shown in the figure.
2. Do not drop or apply any shock to the hard disk drive. The hard disk drive is sensitive to physical shock. Incorrect handling can damage it or cause permanent loss of data. Before removing the hard disk drive, have the user make a backup copy of all information on the hard disk. Never remove the hard disk drive while the system is operating or is in suspend mode.
After replacing the hard disk drive, latch the removal strap into the correct position.
1040 Keyboard Unit:
Battery Pack (1020)
1, When removing the screws covers, use a small screwdrivers as shown.
2. Warning:
When using a screwdriver to remove cover or latches, be careful not to:
Scratch the surface of the computer. Break the latches.
3. Open the keyboard.
4. Remove the leaf-spring plate.
5. when unlatching the upper cover latches to remove the upper cover, use a small screwdriver as shown.
6. Remove the upper cover.
Note:
To remove the upper cover, do not latch the keyboard. Lower the keyboard and remove the upper cover.
7. Disconnect the cables to remove the keyboard unit as shown:
Warning:
Do not pull the keyboard cables. The keyboard cables can be damaged if the keyboard is disconnected without releasing the three latches
Use the following table for reference when replacing the parts.
|
Step |
Location(Quantity) |
Length |
|
2. |
Upper cover (2) |
8 mm |
Note:
Make sure you use the correct screw.
Notes for when replacing:
1. When replacing the keyboard, check that the three cables are clean, and inserted straight and fully into the connections. Slide both ends of each latch at the same time to make sure that each cable is correctly inserted.
Warning:
While pressing the cables into place, be careful not to break the flexible cables.
Go to "Keyboard/Auxiliary Input Device Checkout" and test all keys before returning the computer to the customer.
2. When replacing the upper cover, insert the two latches located on the rear side of the cover into the guide of the LCD foot; then push the right, left, and front sides to snap them into place. Be careful not to damage the suspend/resume switch when putting on the cover.
1050 IC DRAM Card:
1020 (Battery Pack)
Diskette Drive (1030)
Warning:
The IC DRAM card is sensitive to physical shock. Incorrect handling of the cord can damage it. The eject tape (P/N 53G9318) must be used to remove the card.
1055 Diskette Drive Bezel:
Battery Pack (1020)
Diskette Drive (1030)
Insert a coin between the diskette drive bezel and the computer as shown 1 and push the bezel from the bottom of the computer 2 to remove it..
1060 Status Indicator:
Battery Pack (1020)
Keyboard Unit (1040)
Warning:
Do not pull the status indicator cable. The cable can be damaged if the indicator is disconnected (in step 2) without releasing the latch.
The status indicators has three latches on its rear side and one on its front side. For step 3, do the following:
1. Release the rear latches by pushing each one with your thumb, as shown in the figures. (The broken circles in the figure show the locations of the three latches.)
2. Release the front latch.
3. Lift the indicator.
Note:
When replacing the indicator, insert the flexible cable straight into the connector until the head of the cable stops. Slide both ends of the latches at the same time to make sure that the cable is correctly inserted.
Use the following table for reference when replacing parts.
|
Step |
Location(Quantity) |
Length |
|
1 |
Indicator bracket (2) |
4 mm |
Note:
Make sure you use the correct screw.
1070 LCD Assembly:
Battery pack (1020)
Keyboard Unit (1040)
Status Indicator (1060)
1. When replacing the LCD ground terminal screw, do not pull or push the LCD cables.
2. when removing the LCD cables, pull the connector straight up. Incorrect handling can damage the connector.
Note:
For the color model, make sure the indicator does not hook the most right LCD connector when replacing the status indicator.
3. Remove the screw.
4. Remove the right hinge cover.
5. When removing the left hinge cover, use a small screwdriver as shown to release the latch from the rear base cover. Pull the hinge cover slightly upward to keep it unlatched.
6. From the front side, remove the latch with a small screwdriver as shown to remove the cover. Be careful not to scratch the surface of the computer when you use a screwdriver to remove the latches.
7. Remove the four screws.
Use the following table for reference when replacing parts.
|
Step |
Location (Quantity) |
Length |
|
1 |
LCD ground terminal (0) |
4 mm |
|
3 |
LCD hinge cover, right (1) |
4 mm |
|
7 |
LCD hinge (4) |
4 mm |
Note:
Make sure you use the correct screw.
Safety Notice 5:
If the LCD breaks and the fluid from inside the LCD gets into your eyes or on your hands, immediately wash the affected areas with water for at least 15 minutes. Seek medical care if any symptoms from the fluid are present after washing.
Caring For The LCD:
When cleaning of the LCD becomes necessary, gently wipe the LCD with a dry, soft cloth. Do not use alcohol or detergents to clean the LCD. To avoid damage to the LCD, do not scratch or apply any force to its surface.
Do not push anything on the surface of the LCD.
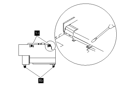
1080 Modem Card (355x):
1085 Bezel (360x):
Battery Pack (1020)
Diskette Drive(1030)
Hard Disk Drive(1035)
Keyboard Unit(1010)
Status Indicator(1060)
Notes:
1. For Model 360x, use steps 9 through 12 to remove the bezel.
2. When the audio card is installed in Model 360x, modem card means audio card in the following step.
For the Modem Card:
Or
For the audio card:
Notes:
1. Gently lift the audio card in step 7 to avoid damaging the speaker cable.
2. Do not pull the speaker cable 8 before the audio card is removed 7.
Use the following table for reference when replacing parts.
|
Step |
Location (Quantity) |
Length |
|
1a |
Speaker shield (2) |
4 mm |
|
1b |
Diskette drive connector (2) |
6 mm |
|
5 |
Lower Shield (2) |
4 mm |
Note:
When you reinstall the upper shield, make sure the LCD ground-terminal is located correctly as shown in the circle.
1090 Speaker Shield Assembly
1095 Interposer Card
Battery Pack(1020)
Diskette Drive(1030)
Hard Disk Drive(1035)
Keyboard Unit(1040)
Status Indicator(1060)
LCD Assembly (1070)
Modem Card (1080)
Warning:
Carefully remove any metal particles that might have flaked. Be careful not to damage it with a screwdrivers, screw, or other objects.
2. When replacing the speaker shield, insert it under the projection at the left, rear corner of the computer base.
Note:
The shaded part in the figure is attached to the speaker shield assembly with light adhesive. This is a separate FRU from the speaker shield assembly.
3. when raising the speaker shield assembly, make sure that the shield assembly does not hook the three flexible cables of the keyboard. For Model 360, gently raise the speaker shield assembly to avoid damaging the speaker cable. (For Models 355 and 355Cs, skip step 3; the speaker cable has already been removed.)
Use the following table for reference when replacing parts.
|
Step |
Location (Quantity) |
Length |
|
1a |
Speaker shield (1) |
4 mm |
|
1b |
Hard disk drive connector (2) |
6 mm |
|
1c |
System board (1) |
16 mm |
|
1d |
System board spacer (1) |
16 mm |
Note:
Make sure you use the correct screw.
Notes:
1. Verify that the spacer 1d is in the correct position.
2. 2 is a shield for radio frequency interference.
1100 DC/DC Card
Battery pack(1020)
Diskette Drive(1030)
Hard Disk Drive(1035)
Keyboard Unit(1040)
Status Indicator(1060)
LCD Assembly(1070)
Speaker Shield Assembly(1090)
Modem Card(1080)
Interposer Card(1095)
Notes:
1. When replacing the DC/DC card, put the spacer 5 on the screw hole.
2. DC -in holder A and spacer 5 are supplied as miscellaneous parts.
Use the following table for reference when replacing parts.
|
Step |
Location (Quantity) |
Length |
|
3 |
Power jack (1) |
8 mm |
Note:
Make sure you use the correct screw.
1110 Backup Battery
1115 Standby Battery
Battery Pack (1020)
Diskette drive (1030)
4 Backup Battery
3 Standby Battery
Note:
When replacing the batteries, make sure both are seated correctly. Check that the insulator cover 1 is in the correct position by sliding it end to end.
|
Step |
Location(Quantity) |
Length |
|
1 |
Cover (1) |
4 mm |
Note:
Make sure you use the correct screw.
Safety Notice 2:
The standby battery contains a small amount of nickel and cadmium. Do not disassemble it, recharge it, throw it into fire or water, or short-circuit it. Dispose of the battery as required by local ordinances or regulations.
Safety Notices 4:
The backup battery is a lithium battery and can cause a fire, explosion, or severe burn. Do not recharge it, remove its polarized connector, disassemble it, heat it above 100C (212F), incinerate it, or expose its cell contents to water. Dispose of the battery as required by local ordinances or regulations. Use of an incorrect battery can result in ignition or explosion of the battery. Replacement batteries can be ordered from IBM or IBM Authorized Dealers.
1120 System Board Assembly:
Battery Pack (1020)
Diskette Drive(1030)
Hard Disk Drive(1035)
Keyboard Unit(1040)
Status Indicator (1060)
LCD Assembly(1070)
Modem Card(1080)
Speaker Shield Assembly(1090)
Interposer Card(1095)
DC/DC Card(1100)
Backup Battery(1110)
Standby Battery(1115)
Important:
The EEPROM on the system board contains the vital product data (VPD), that is, system unit serial number, system board serial number, and other computer unique data. When the system board is replaced, the system unit serial number must also be restored. Use the Set system identification utility on the maintenance diskette to restore the number.
Do not power-off the computer when restoring the VPD.
The serial number label is attached to the bottom cover.
Notes:
1. Before removing and replacing the system board, make sure that the PCMCIA cards are removed and the eject levers are not sticking out.
2. When replacing the system board assembly, align the power-key slide hub with the power-switch actuator by moving the power-key in the direction of the arrow. See the large circle in the figure. Before tightening any screws, check that the power-switch operates correctly.
3. Do not pull the PCMCIA slot assembly while removing the system board.
Use the following table for reference when replacing parts.
|
Step |
Location (Quantity) |
Length |
|
1 |
Hinge Bracket (4) |
4 mm |
|
2 |
Base cover, lower shield (1) |
4 mm |
Note:
Make sure you use the correct screw.
1130 PCMCIA Slot Assembly
Battery Pack(1020)
Diskette Drive(1030)
Hard Disk Drive(1035)
Keyboard Unit(1040)
Status Indicator(1060)
LCD Assembly(1070)
Modem Card(1080)
Speaker Shield Assembly(1090)
Interposer Card(1095)
DC/DC Card(1100)
Backup Battery(1110)
Standby Battery(1115)
System Board Assembly(1120)
Warning:
The system board can be damaged if the lower shield touches the system board components. Carefully follow the next instruction.
In step 4, gradually raise the system board from the lower shield until all the components of the system board just clear the tabs of the lower shield. Be careful not to raise it too far. While keeping the clearance to a minimum separate the system board from the lower shield by moving the system board straight forward as shown by step 2.
Notes:
1. When handling the PCMCIA slot assembly, be careful not to disassemble any part of it. The slot assembly is not solidly fixed when it is removed from the system board or the FRU.
2. The screw stand-off located each corner of the PCMCIA slot, is easy to remove. Make sure that the screw stand-off is positioned when replacing the slot. Do not replace the slot without the screw stand.
Use the following table for reference when replacing parts.
|
Step |
Location(Quantity) |
Length |
|
1 |
PCMCIA slot, upper (2) |
12 mm |
|
2 |
PCMCIA slot, lower (2) |
14 mm |
Note:
Make sure you use the correct screw.
|
Search Keywords |
| |
|
Hint Category |
Hardware Maintenance Information | |
|
Date Created |
07-11-96 | |
|
Last Updated |
01-05-98 | |
|
Revision Date |
29-04-99 | |
|
Brand |
IBM ThinkPad | |
|
Product Family |
ThinkPad 355, ThinkPad 360 | |
|
Machine Type |
2620, 2619 | |
|
Model |
Various | |
|
TypeModel |
| |
|
Retain Tip (if applicable) |
N/A | |
|
Reverse Doclinks |