38.630 bytes

Service Hints & Tips

Document ID: GSMH-3D6FQW

This document is provided to IBM and our Business Partners to help sell and/or service IBM products. It is not to be distributed beyond that audience or used for any other purpose.

TP 710T - Power Systems Checkout

Applicable to: World-Wide

Power Systems Checkout:
To verify the symptom of the problem, power-on the computer using each of the power sources available. If you suspect a power problem, see the appropriate power supply check listed below.

¿AC Adapter Test—

¿Battery Pack Test—

¿Backup Battery Test—

¿Quick Charger Test—

¿Car Battery Adapter Test—

¿Short Circuit Test—


AC Adapter Test:
1. Unplug the AC adapter from the power outlet and the computer.
2. Inspect the AC adapter for any signs of overheating or damage.
3. Inspect the AC adapter power cord for cuts or damage. Replace the power cord, if necessary.
4. Plug the power cord into a power outlet. Listen for any sound that might indicate defective operation.
5. Measure the output voltage at the AC adapter plug.

Pin

Voltage (V dc)

1

+19 to +21

2

Ground (sleeve)


- If the voltage is incorrect, but not 0, replace the AC adapter.
- If the voltage is 0, check the power cord and the power outlet.
- If the power cord and power outlet are OK, replace the AC adapter.
- If the voltage is correct, suspect a short circuit or a failure in the computer. Go to ¿Short Circuit Test—.

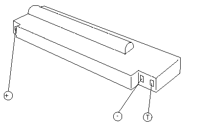
Battery Pack Test:
1. Remove the battery pack.
2. Measure the voltage at the battery contacts as shown below.

Contacts

Voltage (V dc)

+

+9.0 to +12.6

-

Ground


If the voltage is not correct, charge the battery.
If the voltage is not correct after being charged, replace the battery.
If the voltage is correct, suspect a short circuit or failure in the computer. Go to the ¿Short Circuit Test— on page 16.

Use the following procedure to check if the thermal protection has tripped.
1. Measure the resistance with an ohmmeter between theT and- contacts.
2. The resistance should not be open (infinity).

The thermal protection is detected when the temperature exceeds 70 C to 80 C (158Ï F to 176Ï F). Wait until the battery temperature becomes normal, then verify the resistance at the battery terminals. If it is open, replace the battery.

Backup Battery Test:
1. Remove the backup battery.
2. Measure the voltage on the battery as shown below.

Pole

Voltage (V dc)

+

+2.8 to +3.2

-

Ground


If the voltage is not correct, replace the backup battery.

If the voltage is correct, a short circuit or a failure in the system board has occurred. Replace the system board.

Quick Charger Test:
1. Make sure the AC adapter works correctly by using the ¿AC Adapter Test—.
2. Verify the battery pack is not thermal protected by using the procedure on ¿Battery Pack Test'.
3. Plug the quick charger to the AC adapter. The charger power indicator should turn on.
4. Install the battery pack, the charging indicator should start blinking.
5. Within 3.0 hours, the battery pack (not exhausted, standard size) will be fully charged and the charging indicator changes from blinking to constant on.

If the charger does not work as stated above, replace the quick charger.

Car Battery Adapter Test:
1. Unplug the car adapter from the computer and the cigarette socket.
2. Measure the cigarette socket voltage. It should be between 9.0 V dc and 18.0 V dc.
3. Plug the adapter into the car socket. Measure the output voltage of the adapter.

Pin

Voltage (V dc)

1

+19 to +21

2

Ground (sleeve)


If the voltage is incorrect, but not 0, replace the car battery adapter. If the voltage is 0, check that the adapter connector has good contact with cigarette socket. If the connection is good, replace the adapter. If the voltage is correct, and the computer operates with the AC Adapter, replace the car battery adapter. If the voltage is correct, and the computer fails with AC adapter also, perform the AC Adapter Test procedure.

Search Keywords

Hint Category

Hardware Maintenance Information

Date Created

09-01-97

Last Updated

15-04-98

Revision Date

09-04-99

Brand

IBM ThinkPad

Product Family

ThinkPad 710

Machine Type

2523

Model

Various

TypeModel

Retain Tip (if applicable)

N/A

Reverse Doclinks
and Admin Purposes