|
89.048 bytes |
Parts Information |
Document ID: COBN-38VFKM |
PC Server 500 - System Parts Listing
Applicable to: World-Wide
|
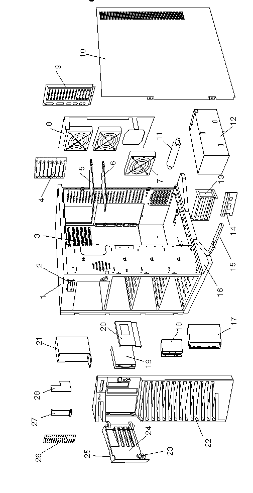
1 |
Base Frame |
82G3593 |
|
2 |
LED Information Display Assembly |
06H3766 |
|
3 |
System Board (without Memory and Processor) |
92F2623 |
|
I/O Spring (bracket on system board) |
06H3796 | |
|
Pentium 90MHz Processor Card |
06H3739 | |
|
16MB ECC Memory SIMM |
96F9100 | |
|
32MB ECC Memory SIMM |
73G3136 | |
|
4 |
I/O Panel Die Cast |
06H3593 |
|
5 |
SCSI RAID Hard Disk Drive Adapter |
06H3059 |
|
5 |
Signal Pass-through card (daughter card) and cable |
06H3060 |
|
5 |
SCSI Fast Wide Hard Disk Drive Adapter |
92F0160 |
|
6 |
Video Adapter |
71G0650 |
|
7 |
Fan Assembly |
06H3407 |
|
8 |
Fan Mounting Support (without Fans) |
82G3618 |
|
9 |
I/O Flex Plate |
06H3594 |
|
10 |
Right Side Door |
82G3594 |
|
Right Side Door Hinges |
82G3600 | |
|
11 |
Pedestal Wheel (with Axle) |
82G3609 |
|
12 |
434 Watt Power Supply |
06H3596 |
|
13 |
Card Guide |
82G3604 |
|
14 |
Processor Card Support |
06H3959 |
|
15 |
Card Guide Support |
82G3603 |
|
16 |
Pedestal |
82G3608 |
|
17 |
Slim-Line CD ROM Drive |
06H2150 |
|
18 |
2.88MB Diskette Drive |
82G1888 |
|
19 |
1GB SCSI Hard Disk Drive |
06H3371 |
|
19 |
2GB SCSI Hard Disk Drive |
06H3372 |
|
20 |
DASD Hot Swap Tray Assembly (Wide) |
06H3956 |
|
DASD Hot Swap Backplane Assembly |
71G6291 | |
|
DASD Hot Swap Cam Spring (Shaft and Knob) |
06H5059 | |
|
DASD Mounting Plate |
82G3602 | |
|
21 |
CD Storage Tray |
06H5060 |
|
22 |
Front Bezel (with Shield) |
82G3595 |
|
23 |
Keylock (with Keys) |
82G3606 |
|
24 |
DASD Door |
82G3596 |
|
25 |
IBM Logo (R) |
82G3601 |
|
26 |
5.25-Inch Drive Bezel (with Spacer) |
82G3599 |
|
27 |
Control Panel Bezel |
06H3595 |
|
28 |
Control Panel Card Assembly |
06H3755 |
|
Ethernet Quad-BT PeerMaster Server Adapter |
06H4220 | |
|
Ethernet Quad-B2 PeerMaster Server Adapter |
06H6042 | |
|
Battery See 'Battery Notice'-. |
33F8354 | |
|
Keyboard (with Cable) |
71G4646 | |
|
Miscellaneous Parts Kit C2 Spring (1 each) |
82G3611 | |
|
Mouse |
96F9258 | |
|
Power Cord |
62X1045 | |
|
Speaker (with Bracket) |
33F8444 |
|
Search Keywords |
| |
|
Document Category |
Service Parts | |
|
Date Created |
16-08-96 | |
|
Last Updated |
23-03-99 | |
|
Revision Date |
23-03-2000 | |
|
Brand |
IBM PC Server | |
|
Product Family |
PC Server 500 | |
|
Machine Type |
8641 | |
|
Model |
| |
|
TypeModel |
| |
|
Retain Tip (if applicable) |
| |
|
Reverse Doclinks |